Запчасти Case IH 8380 (7-16) - SHIELDS ASSEMBLY, RIGHT (09) - CHASSIS

Схема запчастей Case IH 8380 - (7-16) - SHIELDS ASSEMBLY, RIGHT (09) - CHASSIS
10
28
15
25
8
21
18
5
27
4
22
2
26
9
12
16
6
6
6
19
3
14
17
1
24
23
7
13
20
11
FIT
1:1
100%

Артикул

Название

Примечание

Количество

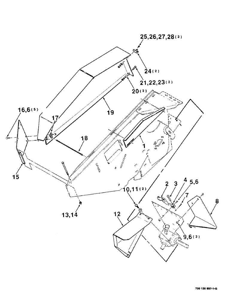
1

700116526

SHIELD

1шт.

2

494307C1

LATCH

HOOK - rubber

1шт.

3

141-13

CLEVIS PIN,1/4" x 1.594"

1/4 X 1-1/2 CLEVIS PIN

1шт.

4

776674

SUPPORT

BRACKET - anchor

1шт.

5

413-58

BOLT,Hex, 5/16" - 18 x 1/2", Gr 5

5/16-18 X 1/2 C

2шт.

6

231-5145

SERRATED NUT,Flg, USR, 5/16"-18

NUT, Flg, USR, 5/16"-18

10шт.

7

432-68

COTTER PIN,3/32" x 1/2"

PIN, SPLIT (COTTER), 3/32" x 1/2"

1шт.

8

700115331

SHIELD

- right rear

1шт.

9

121-115

SERRATED BOLT,Hex, 5/16" - 18 x 3/4"

4шт.

10

413-812

BOLT,Hex, 1/2" - 13 x 3/4", Gr 5

1/2-13 X 3/4 C

3шт.

11

495-21056

WASHER,1/2"

1/2 P

3шт.

12

700114791

COVER

- U-Joint, right

1шт.

13

413-5120

BOLT,Hex, 5/16" - 18 x 7-1/2", Gr 5

5/16-18 X 7-1/2 B

2шт.

14

230-4215

NUT,5/16"-18, GA

5/16-18 HCLN

2шт.

15

700114788

HINGE

- shield, right

1шт.

16

433-512

CARRIAGE BOLT,Sq Nk, 5/16" - 18 x 3/4", Gr 5

6шт.

17

700114675

ANCHOR

- cable

2шт.

18

700706805

CABLE

- stop

1шт.

19

700114794

SHIELD

- right

1шт.

20

190123C1

SPACER,1/2" Tube x 1"

TUBE - spacer

2шт.

21

413-524

BOLT,Hex, 5/16" - 18 x 1-1/2", Gr 5

3шт.

22

425-105

NUT,5/16"-18, G5

3шт.

23

492-11031

LOCK WASHER,5/16"

WASHER, LOCK, 5/16"

3шт.

24

8722910

BRACKET

- catch

1шт.

25

340-1108

SCREW,Cross Pan Hd, #10-24 x 1/2"

NO. 10-24 x 1/2 CRPHMS

3шт.

26

225-14110

NUT,#10-24

3шт.

27

492-11010

LOCK WASHER,#10

WASHER, LOCK, #10

3шт.

28

195-513

WASHER,#10

NO. 10 P

3шт.

Выбрано товаров: 28