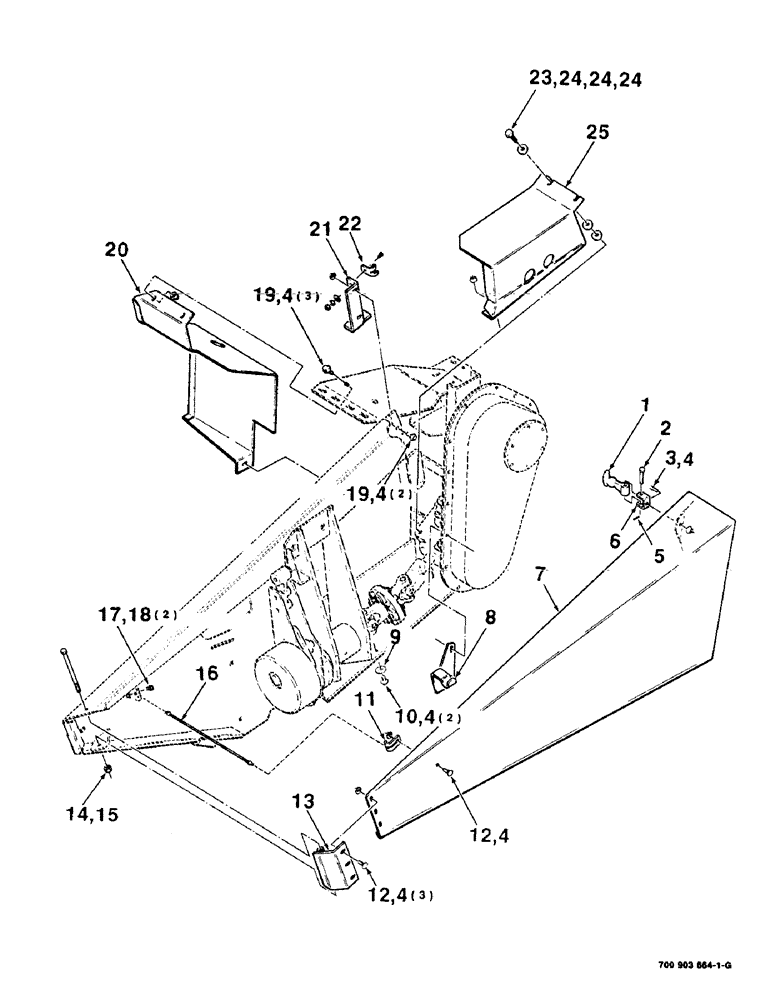
Запчасти Case IH 8380 (7-18) - SHIELDS ASSEMBLY, LEFT (09) - CHASSIS

Схема запчастей Case IH 8380 - (7-18) - SHIELDS ASSEMBLY, LEFT (09) - CHASSIS
19
12
8
12
21
17
14
10
1
24
4
2
4
4
18
19
4
4
4
9
5
24
6
24
25
7
11
16
20
13
3
22
15
23
FIT
1:1
100%

Артикул

Название

Примечание

Количество

1

494307C1

LATCH

HOOK - rubber

1шт.

2

141-13

CLEVIS PIN,1/4" x 1.594"

1/4 X 1-1/2 CLEVIS PIN

1шт.

3

413-58

BOLT,Hex, 5/16" - 18 x 1/2", Gr 5

5/16-18 X 1/2 C

1шт.

4

231-5145

SERRATED NUT,Flg, USR, 5/16"-18

NUT, Flg, USR, 5/16"-18

12шт.

5

432-68

COTTER PIN,3/32" x 1/2"

PIN, SPLIT (COTTER), 3/32" x 1/2"

1шт.

6

776674

SUPPORT

BRACKET - anchor

1шт.

7

700114790

SHIELD

- left

1шт.

8

700114780

CLIP

1шт.

9

495-61034

WASHER,0.34" ID x 0.88" OD x 0.06" Thk

5/8 WIDE PLAIN WASHER

1шт.

10

121-108

BOLT,Hex Flg, 5/16"-18 x 1 1/4", Serr

5/16-18 X 1 HWHMS

2шт.

11

700114675

ANCHOR

- cable

1шт.

12

433-512

CARRIAGE BOLT,Sq Nk, 5/16" - 18 x 3/4", Gr 5

4шт.

13

700114767

HINGE

- shield, left

1шт.

14

413-5120

BOLT,Hex, 5/16" - 18 x 7-1/2", Gr 5

5/16-18 X 7-1/2 B

1шт.

15

230-4215

NUT,5/16"-18, GA

5/16-18 HCLN

1шт.

16

700706805

CABLE

- stop

1шт.

17

121-3

SERRATED BOLT,Hex, 1/4" - 20 x 1/2", Gr 5

2шт.

18

231-5144

SERRATED NUT,Flg, USR, 1/4"-20

2шт.

19

121-115

SERRATED BOLT,Hex, 5/16" - 18 x 3/4"

5шт.

20

700115330

SHIELD

- left rear

1шт.

21

700114781

ANGLE

- anchor

1шт.

22

8722910

BRACKET

- catch

1шт.

23

413-816

BOLT,Hex, 1/2" - 13 x 1", Gr 5

1шт.

24

495-21056

WASHER,1/2"

1/2 P

3шт.

25

700114792

COVER

- U-Joint, left

1шт.

Выбрано товаров: 25