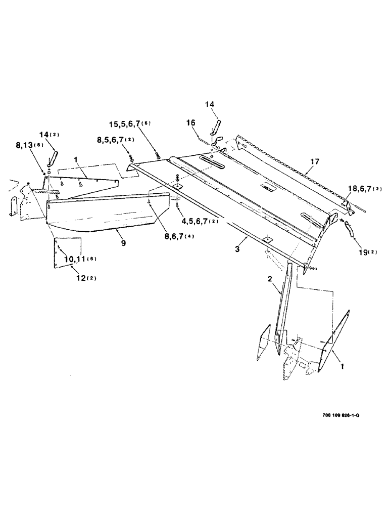
Запчасти Case IH 8380 (7-28) - WINDROW FORMING SHIELDS (09) - CHASSIS

Схема запчастей Case IH 8380 - (7-28) - WINDROW FORMING SHIELDS (09) - CHASSIS
10
6
16
18
6
8
8
3
2
4
7
19
6
5
5
6
14
17
12
1
7
7
11
5
6
7
13
1
7
14
15
9
8
FIT
1:1
100%

Артикул

Название

Примечание

Количество

1

700109840

SHIELD

- forming, left

1шт.

2

700115293

SHIELD

- support

2шт.

3

700109828

SHIELD

- top

1шт.

4

700109841

SHIELD

- forming, right

1шт.

5

700109693

SHIELD

- shingle

2шт.

6

6456750

HANDLE

LEVER NUT

4шт.

7

700109838

ROD

PIN - hinge

1шт.

8

700109839

DEFLECTOR

- rear

1шт.

9

6232532

NUT

NUT

2шт.

10

434-616

CARRIAGE BOLT,Sht Sq Nk, 3/8" - 16 x 1", Gr 5

3/8-16 X 1 RHSSNB

2шт.

11

434-616

CARRIAGE BOLT,Sht Sq Nk, 3/8" - 16 x 1", Gr 5

3/8-16 X 1 RHSNB

12шт.

12

111-360

CARRIAGE BOLT,Short NK, 3/8"-16 x 3/4", G5

BOLT, CARRIAGE, Short NK, 3/8"-16 x 3/4", G5

6шт.

13

412-48

CARRIAGE BOLT,Short Sq Nk 1/4" - 20 x 1/2", Gr 2

1/4-20 X 1/2 RHSNB

6шт.

14

6232532

NUT

2шт.

15

425-106

NUT,3/8"-16, Cl 5

10шт.

16

231-5144

SERRATED NUT,Flg, USR, 1/4"-20

6шт.

17

232-5316

FLANGE NUT,Flg, 3/8"-16

3/8-16 HFTLN

6шт.

18

492-11038

LOCK WASHER,3/8"

16шт.

19

496-11041

WASHER,13/32" x 13/16" x .065", HDN

3/8 P

16шт.

Выбрано товаров: 19