Запчасти Case IH 8380 (9-24) - HYDROSTATIC PUMP, PTO, 540 RPM (09) - CHASSIS

Схема запчастей Case IH 8380 - (9-24) - HYDROSTATIC PUMP, PTO, 540 RPM (09) - CHASSIS
6
7
8
3
11
2
12
9
4
10
13
1
5
FIT
1:1
100%

Артикул

Название

Примечание

Количество

700700937

PUMP, HYDRAULIC

HYDROSTATIC PUMP - PTO complete, 540 RPM

1шт.

277624R

REMAN-HYD PUMP

8380, Reman For New P/N 700700937

1шт.

277624C

CORE-HYDRAULIC PUMP

Return Number

1шт.

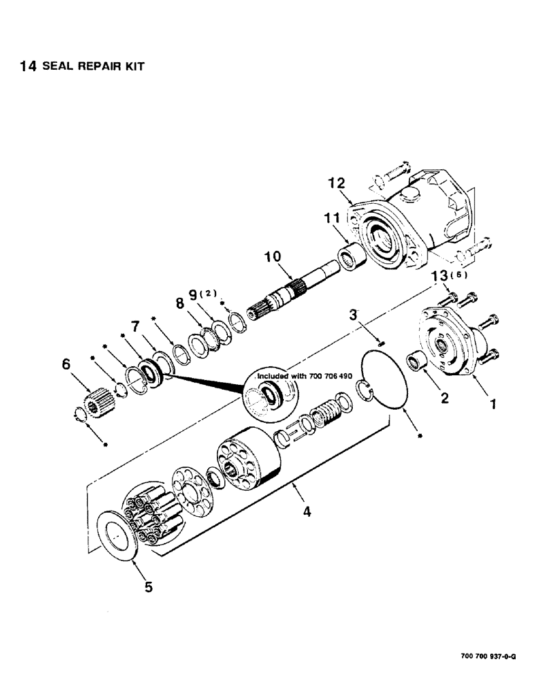
1

700700706

LARGE PLATE

BACK PLATE ASSEMBLY (Includes needle bearing)

1шт.

2

G10642

NEEDLE BEARING,Needle, 22.23mm ID x 28.57mm OD x 19.05mm W

BEARING - needle

1шт.

3

138-53

LOCK PIN,1/8" x 1/2", Slotted

Pin, 1/8" x 1/2", Slotted

1шт.

4

50-2801T1

CYLINDER

ROTATING PISTON REPAIR KIT

1шт.

5

700700705

CAM

INSERT

1шт.

6

T55332

GEAR

- sun

1шт.

7

95-81147

WASHER,1.53" ID x 2.06" OD x 0.11" Thk

1шт.

8

T36441

THRUST BEARING,1.127" ID x 1.74" OD x 0.0781"

BEARING - thrust

1шт.

9

A52205

RACE,28.63mm ID x 44.2mm OD x 2.41mm Thk

THRUST RACE

2шт.

10

7037948

SHAFT

- drive

1шт.

11

F62086

NEEDLE BEARING,Needle, 25.4mm ID x 33.34mm OD x 25.4mm W

BEARING - needle

1шт.

12

7037922

HOUSING

ASSEMBLY (Includes needle bearing)

1шт.

13

413-524

BOLT,Hex, 5/16" - 18 x 1-1/2", Gr 5

6шт.

14

700700710

SEAL KIT

REPAIR KIT, Includes items in art marked with asterisk

1шт.

Выбрано товаров: 17