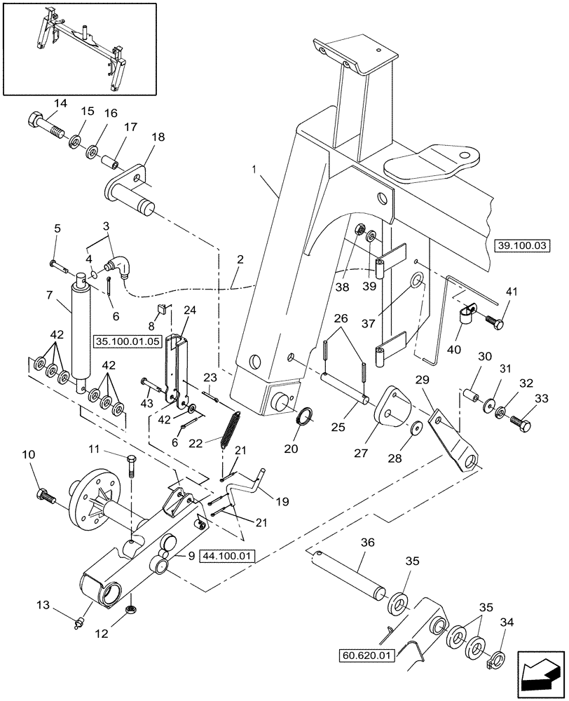
Запчасти Case IH SC101 (39.100.01.01) - FRAME, RH (39) - FRAMES AND BALLASTING

Схема запчастей Case IH SC101 - (39.100.01.01) - FRAME, RH (39) - FRAMES AND BALLASTING
29
20
7
1
9
8
38
44.100.01
60.620.01
39.100.03
35.100.01.05
16
5
42
36
31
34
22
41
15
3
26
21
42
37
12
24
39
18
11
25
17
42
27
35
4
14
10
6
33
19
32
6
40
21
13
28
2
30
43
35
23
FIT
1:1
100%

Артикул

Название

Примечание

Количество

1

86565559

FRAME

Main

1шт.

2

86514945

HOSE,0.38" ID x 18.00", SAE J516

1шт.

3

76344

90 ELBOW,9/16" - 18 JIC x 9/16" - 18 ORB

Incl. Ref. 4

1шт.

4

9617873

O-RING,0.078" Thk x 0.468" ID, -906, Cl 6, 90 Duro

2шт.

5

86529064

PIN

2шт.

6

80753

COTTER PIN,1/4" x 1 1/2"

2шт.

7

87573687

HYDRAULIC CYLINDER,28.7mm Rod, 251.71mm Stroke

Slave

1шт.

7

87573687R

REMAN-HYD CYLINDER

SC101 (10/08-)

1шт.

87573687C

CORE-HYD CYLINDER

Return Number

1шт.

8

216328

BUMPER

1шт.

9

0C

ORDER COMPONENTS

Wheel Hub & Spindle

1шт.

10

86628557

WHEEL BOLT,Hex Csk, 9/16" - 18 x 1 1/8", HTS

6шт.

11

88444

BOLT,Hex, 3/8" - 16 x 2 3/4", Gr 5

1шт.

12

88902

NUT,3/8"-16

1шт.

13

87414

LUBE NIPPLE,1/4" - 28

1шт.

14

87670

BOLT,1/2" - 13 x 1-1/4", Full Thd, Gr 5

1шт.

15

80679

LOCK WASHER,1/20.507 CST ZND

1шт.

16

80700

WASHER,0.56" ID x 1.38" OD x 0.11" Thk

1шт.

17

167381

SPACER

1шт.

18

86632707

PIN,60.1mm OD x 191.35mm L

1шт.

19

87618910

LATCH

1шт.

20

129793

SNAP RING,#250, Ext

1шт.

21

80756

COTTER PIN,1/8" x 3/4"

3шт.

22

86539129

SPRING

1шт.

23

87400

COTTER PIN,3/16" x 2"

1шт.

24

87061353

STOP

1шт.

25

86517430

PIN

1шт.

26

280175

GROOVED PIN,5/16" x 1 1/2", Type E

2шт.

27

86632711

CAM

1шт.

28

87367

WASHER,1.06" ID x 2" OD x 0.13" Thk

1шт.

29

86632710

CONNECTING LINK

1шт.

30

53978

SPACER

1шт.

31

80299

WASHER,0.69" ID x 1.75" OD x 0.13" Thk

1шт.

32

86729275

LOCK WASHER,5/8 0.634 CST ZND

1шт.

33

88685

BOLT,Hex, 5/8" x 1 1/2", Gr 8, Full Thd

1шт.

34

86515809

SNAP RING,#175, Ext

1шт.

35

238113

WASHER

4/ARшт.

36

86632709

PIN,44.45mm OD x 310mm L

1шт.

37

574820

GROMMET

1шт.

38

9628503

NUT,3/8"-16, G5

1шт.

39

140045

BELLEVILLE WASHER,M10 Bolt Size x 22mm OD x 1.6mm Thk

1шт.

40

853765

CLAMP,7.9mm, Coat, 10.3mm Bolt Hole, P Type

1шт.

41

86521613

BOLT,Hex, 3/8" - 16 x 1", Gr 5

1шт.

42

87365

WASHER,0.66" ID x 1.31" OD x 0.1" Thk

6/ARшт.

Выбрано товаров: 44