Запчасти Case IH SC412 (8-16) - HYDRAULIC TONGUE PIVOT ASSEMBLY (08) - HYDRAULICS

Схема запчастей Case IH SC412 - (8-16) - HYDRAULIC TONGUE PIVOT ASSEMBLY (08) - HYDRAULICS
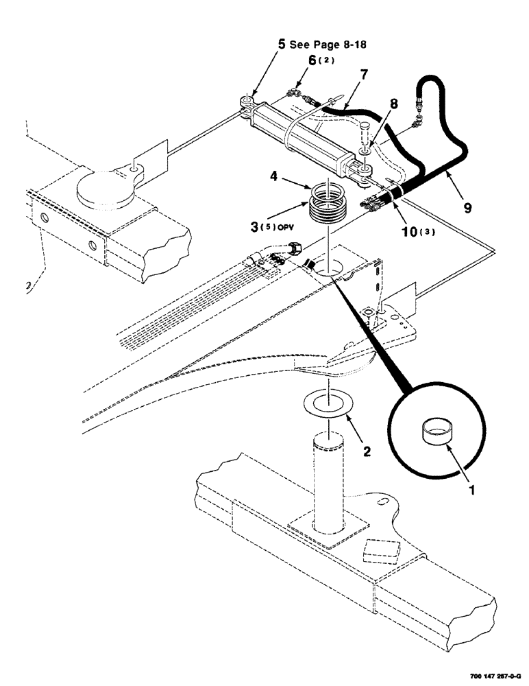
5
8
10
3
4
9
2
7
1
6
FIT
1:1
100%

Артикул

Название

Примечание

Количество

1

7852379

BRONZE BUSHING,102.06mm ID x 114.4mm OD x 44.45mm L

- bronze

1шт.

2

700115300

WASHER

MACHINERY BUSHING - spl, 6-3/4 OD

1шт.

3

700115299

WASHER

MACHINERY BUSHING - spl, 5 OD

5шт.

4

700706827

RING, SNAP

RING - retaining, external

1шт.

5

700718463

CYLINDER,Double Acting, 31.75mm Rod, 406.4mm Stroke

- hydraulic

1шт.

6

218-5387

90 ELBOW,90 Degree, 3/4"-16 O-Ring x 3/8" NPSM Fem

FITTING - hydraulic

2шт.

7

7073729

HYDRAULIC HOSE,0.38" ID x 52.00", SAE 100R1

HOSE - hydraulic

1шт.

8

495-11106

WASHER,1", SAE

1шт.

9

7872005

HOSE

- hydraulic

1шт.

10

529070

CABLE TIE,368.3mm L

CABLE TIE

3шт.

Выбрано товаров: 10