Запчасти Case IH SC412 (2-02) - MAIN DRIVE ASSEMBLY (SC412) (09) - CHASSIS

Схема запчастей Case IH SC412 - (2-02) - MAIN DRIVE ASSEMBLY (SC412) (09) - CHASSIS
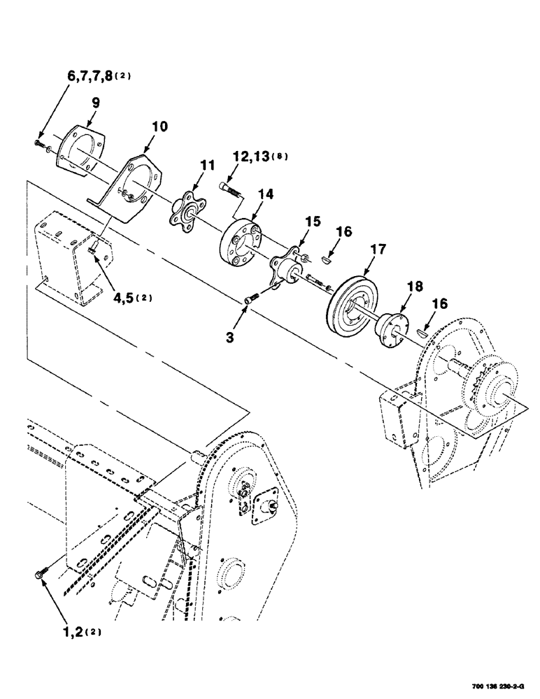
3
13
9
8
12
16
14
7
4
18
7
16
17
10
11
15
2
6
1
5
FIT
1:1
100%

Артикул

Название

Примечание

Количество

1

121-237

SERRATED BOLT,Hex, 3/8" - 16 x 1 1/4, Spcl

3/8-16 X 1-1/4 HFS GR8

2шт.

2

232-5316

FLANGE NUT,Flg, 3/8"-16

3/8-16 HFTLN GR/G

2шт.

3

61-720

HEX SOC SCREW,7/16"-14 x 1 1/4"

7/16-14 X 1-1/4 HSHCS SPL

1шт.

4

700710984

SCREW,Hex Flg, 1/2" x 1 1/4", G8 NC

1/2-13 X 1-1/4 HFS GR8

2шт.

5

231-5348

FLANGE NUT,Flg, 1/2"-13

1/2-13 HFTLN GR/G

2шт.

6

413-516

BOLT,Hex, 5/16" - 18 x 1", Gr 5

C Hex, 5/16"-18 x 1", G5, Full Thd

2шт.

7

496-21034

WASHER,11/32" x 11/16" x 0.89", HDN

4шт.

8

425-105

NUT,5/16"-18, G5

2шт.

9

700136294

PLATE

- mounting

1шт.

10

700136284

SUPPORT

- motor

1шт.

11

700114803

HUB

WA

1шт.

12

700706548

HEX SOC SCREW

1/2-13 X 2-1/4 HSHCS SPL

8шт.

13

425-108

NUT,1/2" - 13, Gr 5

NUT, , Hex 1/2"-13, G5

8шт.

14

700706587

FLEXIBLE COUPLING

COUPLER - rubber

1шт.

15

700136295

HUB

WA

1шт.

16

126-36

WOODRUFF KEY,#23, 5/16" x 1 3/8"

2шт.

17

700147275

SHEAVE

- sickle drive

1шт.

18

700711851

BUSHING

- taper

1шт.

Выбрано товаров: 18