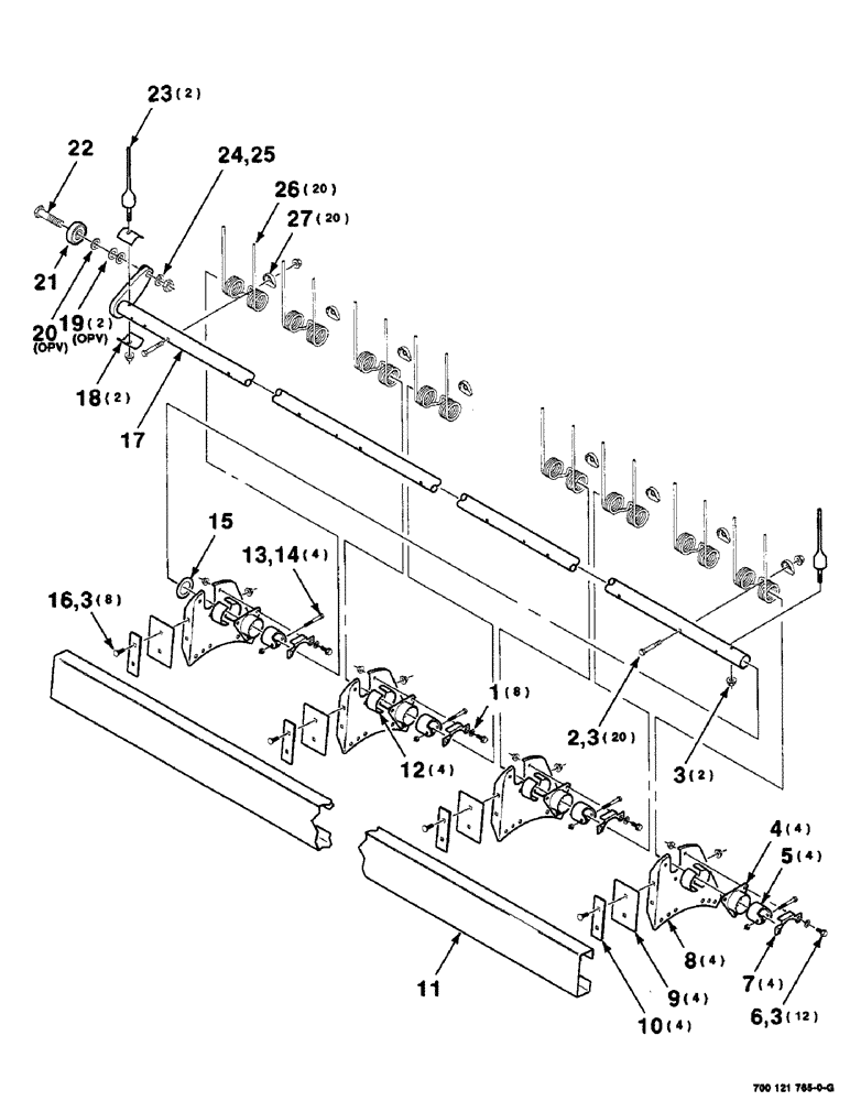
Запчасти Case IH SC414 (6-10) - REEL BAT AND TINE TUBE ASSEMBLY (14 FOOT), TINE TUBE ASSEMBLY "B" (09) - CHASSIS

Схема запчастей Case IH SC414 - (6-10) - REEL BAT AND TINE TUBE ASSEMBLY (14 FOOT), TINE TUBE ASSEMBLY "B" (09) - CHASSIS
15
23
7
11
16
9
18
3
27
24
3
17
21
26
12
13
8
3
25
3
19
4
22
5
2
14
1
20
10
6
FIT
1:1
100%

Артикул

Название

Примечание

Количество

1

496-21034

WASHER,11/32" x 11/16" x 0.89", HDN

8шт.

2

413-532

BOLT,Hex, 5/16" - 18 x 2", Gr 5

20шт.

3

231-5145

SERRATED NUT,Flg, USR, 5/16"-18

NUT, Flg, USR, 5/16"-18

42шт.

4

700708643

BEARING HOUSING

HOUSING - bearing

4шт.

5

6105159

NYLON BEARING,1.75"

BEARING - tine

4шт.

6

121-115

SERRATED BOLT,Hex, 5/16" - 18 x 3/4"

12шт.

7

6831986

COVER

- bearing

4шт.

8

700114555

SUPPORT

- bearing

4шт.

9

700114544

LARGE PLATE

PLATE - reel

4шт.

10

700114543

RETAINER

4шт.

11

700124068

BAT ASSY.

BAT - reel

1шт.

12

700708642

BEARING HALF

WEDGE

4шт.

13

413-432

BOLT,Hex, 1/4" - 20 x 2", Gr 5

4шт.

14

232-4114

LOCK NUT,1/4"-20, GC

1/4-20 HTLN GR B

4шт.

15

195-2139

WASHER,36.52mm ID x 57.15mm OD x 2.03mm Thk

1-3/8 X 14 GAUGE NRMB

1шт.

16

111-237

CARRIAGE BOLT,Short NK, 5/16"-18 x 1", G5

BOLT, CARRIAGE, Short NK, 5/16"-18 x 1", G5

8шт.

17

700122702

TUBE

WA - tine, 14 foot "B"

1шт.

18

700117971

RETAINER

- tube

2шт.

19

52233

BUSHING

5/8 X 14 GAUGE NRMB

2шт.

20

52175

BUSHING,25.48mm ID x 38.2mm OD x 3.17mm L

5/8 X 18 GAUGE NRMB

1шт.

21

667925R91

ROLLER BEARING,0.628" ID x 2" OD x 15 mm

1шт.

22

8701005

SPECIAL BOLT,Hex, 5/8" - 18 x 2 1/4", Gr 5

5/8-18 X 2-1/4 C SPECIAL

1шт.

23

756163

TINE

- single

2шт.

24

492-11062

BEARING WASHER,5/8"

WASHER, LOCK, 5/8"

1шт.

25

425-1510

JAM NUT,Jam, 5/8"-18, G5

5/8-18 HEX JAM NUT GR 2

1шт.

26

7895642

TINE

- double

20шт.

27

261024

CLIP

- tine

20шт.

Выбрано товаров: 27