Запчасти Case IH SC414 (7-50) - SKID SHOE - CENTER & WEAR PLATE ASSEMBLY (14 FOOT) (09) - CHASSIS

Схема запчастей Case IH SC414 - (7-50) - SKID SHOE - CENTER & WEAR PLATE ASSEMBLY (14 FOOT) (09) - CHASSIS
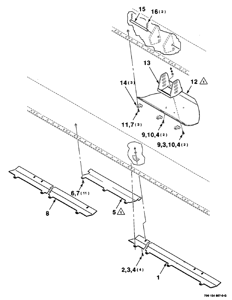
15
16
12
3
4
13
10
4
11
7
2
7
6
14
4
8
1
9
10
5
9
3
FIT
1:1
100%

Артикул

Название

Примечание

Количество

1

700114700

PLATE

WEAR PLATE - left

1шт.

2

434-616

CARRIAGE BOLT,Sht Sq Nk, 3/8" - 16 x 1", Gr 5

3/8-16 X 1 RHSNB

4шт.

3

496-11041

WASHER,13/32" x 13/16" x .065", HDN

3/8 HARDENED PLAIN WASHER

6шт.

4

425-106

NUT,3/8"-16, Cl 5

8шт.

5

700120999

WEAR PLATE

- center

1шт.

6

434-716

CARRIAGE BOLT,Sht Sq Nk, 7/16" - 14 x 1", Gr 5

7/16-14 X 1 RHSNB

11шт.

7

425-107

NUT,7/16"-14, G5

14шт.

8

700114701

PLATE

WEAR PLATE - right

1шт.

9

118-140

PLOW BOLT,3/8"-16 x 1 1/8", G5

3/8-16 X 1-1/4 PLOW BOLT

4шт.

10

492-11038

LOCK WASHER,3/8"

4шт.

11

111-404

CARRIAGE BOLT,Short NK, 7/16"-14 x 1 1/4", G5

BOLT, CARRIAGE, Short NK, 7/16"-14 x 1 1/4", G5

3шт.

12

700115322

SHOE

- skid, center

1шт.

13

700110220

SUPPORT

- adjustable

1шт.

14

6453799

CLIP

- shoe, skid

3шт.

15

700110222

PIN

1шт.

16

S120261

PIN

HAIRPIN COTTER

2шт.

Выбрано товаров: 16