Запчасти Case IH SC414 (7-32) - AUGER PAN AND STRIPPER ASSEMBLIES RIGHT, 14 FOOT (09) - CHASSIS

Схема запчастей Case IH SC414 - (7-32) - AUGER PAN AND STRIPPER ASSEMBLIES RIGHT, 14 FOOT (09) - CHASSIS
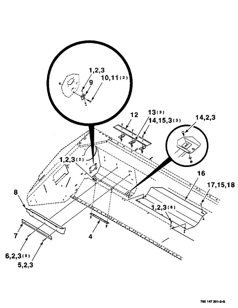
3
18
4
2
1
10
9
3
3
1
3
14
14
2
5
16
2
12
8
3
15
3
2
1
13
17
15
6
11
2
2
3
FIT
1:1
100%

Артикул

Название

Примечание

Количество

1

433-512

CARRIAGE BOLT,Sq Nk, 5/16" - 18 x 3/4", Gr 5

9шт.

2

496-21034

WASHER,11/32" x 11/16" x 0.89", HDN

16шт.

3

425-105

NUT,5/16"-18, G5

19шт.

4

700136371

STRAP

- retainer

1шт.

5

433-540

CARRIAGE BOLT,Sq Nk, 5/16" - 18 x 2 1/2", Gr 5

5/16-18 X 2-1/2 RHSNB

1шт.

6

433-536

CARRIAGE BOLT,Sq Nk, 5/16" - 18 x 2 1/4", Gr 5

5/16-18 X 2-1/4 RHSNB

5шт.

7

700109704

ANGLE

- stripper, right

1шт.

8

700134689

STRIPPER

WA - right 14 foot

1шт.

9

700124317

ANGLE

- right

1шт.

10

413-824

BOLT,Hex, 1/2" - 13 x 1-1/2", Gr 5

2шт.

11

231-5348

FLANGE NUT,Flg, 1/2"-13

1/2-13 HFTLN GR/G

2шт.

12

700136373

PAN

- filler

1шт.

13

700136368

CLIP

- retainer

3шт.

14

111-237

CARRIAGE BOLT,Short NK, 5/16"-18 x 1", G5

BOLT, CARRIAGE, Short NK, 5/16"-18 x 1", G5

4шт.

15

495-61034

WASHER,0.34" ID x 0.88" OD x 0.06" Thk

5/16 WIDE PLAIN WASHER

4шт.

16

700124319

PAN

- auger, right

1шт.

17

121-115

SERRATED BOLT,Hex, 5/16" - 18 x 3/4"

1шт.

18

232-5315

FLANGE NUT,Flg, 5/16"-18

5/16-18 HFTLN GR/G

1шт.

Выбрано товаров: 18