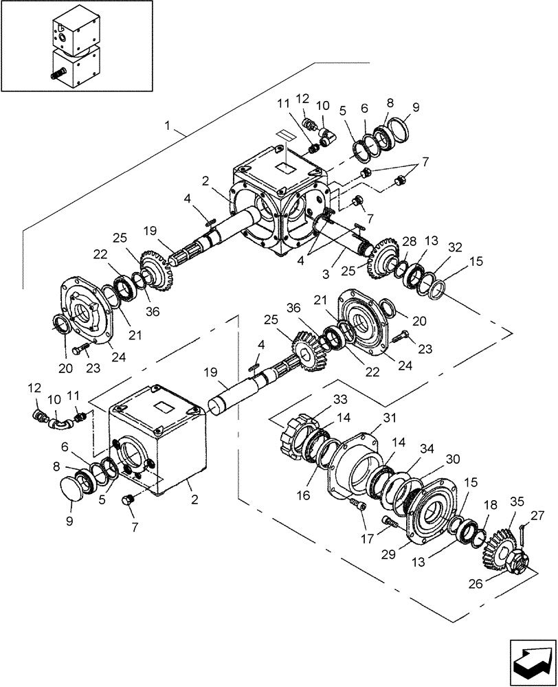
Запчасти Case IH DC162 (03.04) - GEARBOX COMPONENTS - SWIVEL (03) - MAIN GEARBOX

Схема запчастей Case IH DC162 - (03.04) - GEARBOX COMPONENTS - SWIVEL (03) - MAIN GEARBOX
19
12
25
14
5
19
24
18
22
9
15
3
17
24
25
4
22
27
5
2
31
4
36
12
7
32
29
33
30
6
20
28
11
11
21
16
10
35
8
25
26
23
7
2
4
6
8
7
9
13
1
21
13
36
14
10
20
23
15
34
FIT
1:1
100%

Артикул

Название

Примечание

Количество

1

86592258

GEARBOX

Swivel

1шт.

Use W/ 86560318 Yoke, 21 Tooth Spline

1шт.

1

86592258R

REMAN-GEARBOX

Reman Gearbox

1шт.

1

86592258C

CORE-GEARBOX

Return Number

1шт.

2

86559211

HOUSING

2шт.

3

86592260

SHAFT

Vertical

1шт.

4

86547749

KEY

M12 x 18 x 35

4шт.

5

86559213

SNAP RING

Ext, M42.5

2шт.

6

86559214

KIT

Shim - Includes: 3 Shims

2шт.

7

86557412

PLUG,3/8" - 19 NPT

6шт.

8

86018152

BEARING ASSY,45mm ID x 85mm OD x 20.75mm W

2шт.

9

86539183

CAP

M72 x 10

2шт.

10

86559215

ELBOW

90°, 3/8" Gas

2шт.

11

86559216

HYD CONNECTOR

3/8" Gas

2шт.

12

86539157

BREATHER,3/8" Gas

2шт.

13

86557433

TAPERED BEARING,40mm ID x 80mm OD x 24.75mm W

2шт.

14

86551264

TAPERED BEARING

2шт.

15

86547750

OIL SEAL

Oil, 40 x 72 x 10

2шт.

16

86547751

OIL SEAL

Oil, 95 x 120 x 12

1шт.

17

2975076

BOLT,M10 x 1.5 x 22mm, Cl 8.8

16шт.

18

86539215

KIT

Shim - Includes: 3 Shims

1шт.

19

86559222

SHAFT

Upper

2шт.

20

86539177

SEAL

35 x 62 x 8

2шт.

21

86539210

KIT

Shim - Includes: 3 Shims

2шт.

22

86557434

TAPERED BEARING,35mm ID x 72mm OD x 24.25mm W

2шт.

23

86539175

BOLT,Hex, M10 x 22mm, Cl 8.8

Cap, HH, CL 8.8, M10 x 1.5 x 22

16шт.

24

86539179

COVER

2шт.

25

86559218

GEAR

3шт.

26

86547748

NUT

M40 x 1.5

1шт.

27

NSS

NOT SOLD SEPARAT

Pin, Cotter, M4 x 63mm

1шт.

28

86559219

SHIM

1шт.

29

86592261

HUB

Inner Neck

1шт.

30

86547747

O-RING

M133.9 ID x 2.62 Thk

1шт.

31

86592262

HOUSING

Outer Neck

1шт.

32

86539214

SHIM

Shim - Includes: 3 Shims

1шт.

33

86559220

LOCK NUT,M95 x 2, Bearing

1шт.

34

86559221

WASHER

Protective

1шт.

35

86592259

GEAR

1шт.

36

86539211

KIT

Shim - Includes: 3 Shims

2шт.

Выбрано товаров: 0