Запчасти Case IH 816 (G-06) - DEFLECTORS AND SHIELDS

Схема запчастей Case IH 816 - (G-06) - DEFLECTORS AND SHIELDS
FIT
1:1
100%

Артикул

Название

Примечание

Количество

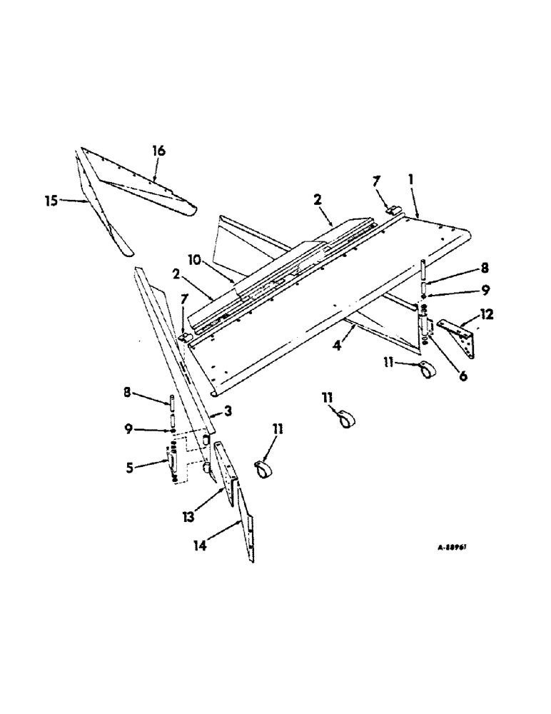
1

482682R1

DEFLECTOR, swath, used with 9 ft. machines, 1966

1шт.

1

482684R1

DEFLECTOR, swath, used with 7 ft. machines, 1966

1шт.

19428R1

BOLT, 5/16 x 5/8 C-Z sq-nk crg

4шт.

632225R1

LOCK NUT

5/16-18 C-Z flange lock

4шт.

120394

WASHER,3/8", SAE

WASHER, 13/32 x 13/16 x 16 ga C-Z

3шт.

1

488142R1

DEFLECTOR, swath, used with 9 ft. machines, 1967 & since

1шт.

1

488143R1

DEFLECTOR, swath, used with 7 ft. machines, 1967 & since

1шт.

19428R1

BOLT, 5/16-18 x 5/8 cd-pltd sq-nk crg

4шт.

632225R1

LOCK NUT

5/16-18 whiz flange lock

4шт.

2

482695R1

DEFLECTOR, rear extension, 1 used with 7 ft. machines, 2 used with 9 ft. machines

1шт.

3

482685R11

SHEET ASSY, LH Windrower, 1966

1шт.

3

488146R1

SHEET ASSY, LH Windrower, 1967 & since

1шт.

4

482686R11

SHEET ASSY, RH Windrower, 1966

1шт.

4

488147R1

SHEET ASSY, RH Windrower, 1967 & since

1шт.

5

482689R91

BLOCK ASSY, hinge pivot RH

1шт.

86837293

SHAFT

1/2-20 x 1 C-Z hex-hd cap

2шт.

484781R1

NUT

1/2-20 C-Z flange lock

2шт.

6

482688R91

BLOCK ASSY, hinge pivot LH

1шт.

181696

1/2-20 x 1 C-Z hex-hd cap

2шт.

484781R1

NUT

1/2-20 flange lock

2шт.

7

488152R1

CLAMP, Windrower sheet

2шт.

18508R1

CARRIAGE BOLT,Short Nk, 3/8" - 16 x 3/4", Gr 2, Full Thd

BOLT, 3/8 x 3/4 C-Z sq-nk crg

2шт.

482256R1

BEARING LOCK NUT,Flg, USR, 3/8"-16

3/8-16 C-Z flange lock

2шт.

8

482687R1

ROD, hinge pivot

2шт.

432-1620

COTTER PIN,1/4" x 1 1/4"

Pin, Split (Cotter), 1/4" x 1 1/4"

4шт.

9

20994R1

WASHER

25/32 x 1-1/8 x .065

10шт.

10

484948R1

DEFLECTOR, rear extension, upper

1шт.

11

482683R1

CLAMP

3шт.

113-206

BOLT,Hex, 3/8" - 16 x 3/4", Gr 5, Full Thd

3/8-16 x 3/4 C-Z hex-hd cap

3шт.

482256R1

BEARING LOCK NUT,Flg, USR, 3/8"-16

3/8-16 C-Z flange lock

3шт.

120394

WASHER,3/8", SAE

WASHER, 13/32 x 13/16 x 16 ga C-Z

3шт.

12

482692R1

BRACKET, deflector LH, order angle 487338R1

1шт.

113-206

BOLT,Hex, 3/8" - 16 x 3/4", Gr 5, Full Thd

3/8-16 x 3/4 C-Z hex-hd cap

3шт.

482256R1

BEARING LOCK NUT,Flg, USR, 3/8"-16

3/8-16 C-Z flange lock

3шт.

86837293

SHAFT

1/2-20 x 1 C-Z hex-hd cap

2шт.

484781R1

NUT

1/2-20 C-Z flange lock

2шт.

12

488144R1

BRACKET, deflector LH, 1967 & since

1шт.

113-206

BOLT,Hex, 3/8" - 16 x 3/4", Gr 5, Full Thd

3/8-16 x 3/4 C-Z hex-hd cap

3шт.

482256R1

BEARING LOCK NUT,Flg, USR, 3/8"-16

3/8-16 C-Z flange lock

3шт.

13

482693R1

BRACKET, deflector RH, order bracket 488145R1, not used on machines equipped with Windrower sheets

1шт.

113-206

BOLT,Hex, 3/8" - 16 x 3/4", Gr 5, Full Thd

3/8-15 x 3/4 C-Z hex-hd cap

2шт.

482256R1

BEARING LOCK NUT,Flg, USR, 3/8"-16

3/8-16 C-Z flange lock

2шт.

181696

1/2-20 x 1 C-Z hex-hd cap

2шт.

484781R1

NUT

1/2-20 C-Z flange lock

2шт.

13

488145R1

BRACKET, deflector RH

1шт.

113-206

BOLT,Hex, 3/8" - 16 x 3/4", Gr 5, Full Thd

3/8-16 x 3/4 C-Z hex-hd cap

3шт.

482256R1

BEARING LOCK NUT,Flg, USR, 3/8"-16

3/8-16 C-Z flange lock

3шт.

14

482696R1

SHEET, RH inside deflector

1шт.

18508R1

CARRIAGE BOLT,Short Nk, 3/8" - 16 x 3/4", Gr 2, Full Thd

BOLT, 3/8 x 3/4 C-Z sq-nk crg

2шт.

482256R1

BEARING LOCK NUT,Flg, USR, 3/8"-16

3/8-16 C-Z flange lock

2шт.

15

487937R1

SHEET, Windrower extension LH, 1966, and for reel conversion

1шт.

20716R1

SCREW,Sl Pan Hd, 5/16" - 18 x 1/2"

5/16-18 x 1/2 C-Z slt-truss-hd mach

6шт.

483303R1

LOCK NUT

5/16-18 C-Z flange lock

6шт.

16

487938R1

SHEET, Windrower extension RH, 1966, and for conversion

1шт.

20716R1

SCREW,Sl Pan Hd, 5/16" - 18 x 1/2"

5/16-18 x 1/2 C-Z slt-truss-hd mach

6шт.

483303R1

LOCK NUT

5/16-18 C-Z flange lock

6шт.

Выбрано товаров: 56