Запчасти Case IH 8330 (5-04) - HAY CONDITIONER TENSIONER AND ROLLS ASM, MODEL 8330 ONLY (09) - CHASSIS

Схема запчастей Case IH 8330 - (5-04) - HAY CONDITIONER TENSIONER AND ROLLS ASM, MODEL 8330 ONLY (09) - CHASSIS
5
3
22
18
7
6
9
10
8
11
13
21
15
2
3
17
1
14
16
4
20
12
19
FIT
1:1
100%

Артикул

Название

Примечание

Количество

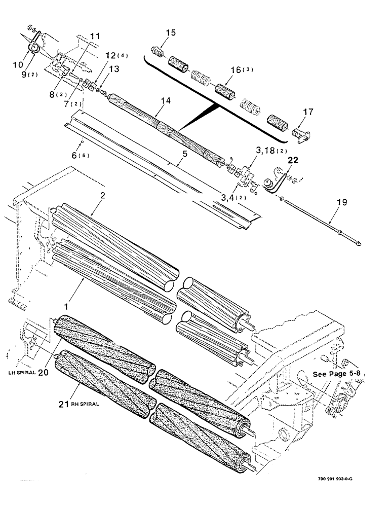
1

700111251

ROLLER

ROLL - hay conditioner

1шт.

2

700705532

ROLLER

ROLL - rubber, hay conditioner

1шт.

3

413-516

BOLT,Hex, 5/16" - 18 x 1", Gr 5

C Hex, 5/16"-18 x 1", G5, Full Thd

4шт.

4

231-5145

SERRATED NUT,Flg, USR, 5/16"-18

NUT, Flg, USR, 5/16"-18

2шт.

5

6582944

SUPPORT

SHIELD - support

1шт.

6

256873

BOLT,Hex Serr, 5/16" - 18 x 1/2", 5SPL, Full Thd

6шт.

7

52233

BUSHING

5/8 X 14 GAUGE NRMB

2шт.

8

499632

PIN

2шт.

9

451336

PULLEY

ROLLER - cable

2шт.

10

6582969

CABLE

ASSEMBLY - right

2шт.

11

413-1056

BOLT,Hex, 5/8" - 11 x 3-1/2", Gr 5

1шт.

12

453563

BAR

PLATE - connector

4шт.

13

425-1410

JAM NUT,Jam, 5/8"-11, G5

5/8-11 HJN

1шт.

14

453498

SPRING

ASSEMBLY (Includes items 15, 16 & 17)

1шт.

15

299230

PLUG

- spring, right

1шт.

16

727537

TUBE,2.25" OD, 6" Length

SLEEVE - rubber

3шт.

17

451328

PLUG

- spring, left

1шт.

18

230-4215

NUT,5/16"-18, GA

5/16-18 HCLN

2шт.

19

6582977

BOLT

- tension adjustment

1шт.

20

700708659

ROLL

- Ticor, left hand spiral (S.N. CFH0003002 thru -5048)

1шт.

700130896

ROLL

- Rubber, left hand spiral (S.N. CFH0005049 and later)

1шт.

21

700708660

ROLLER

ROLL - Ticor, right hand spiral (S.N. CFH0003002 thru -5048)

1шт.

700130895

ROLLER

ROLL - Rubber, right hand spiral (S.N. CFH0005049 and later)

1шт.

22

6582951

CABLE

ASSEMBLY - left

1шт.

Выбрано товаров: 24