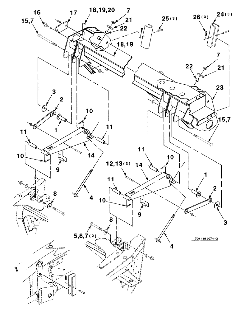
Запчасти Case IH 8340 (7-18) - FRAME & HEADER UPPER SUPPORT ASSEMBLY (58) - ATTACHMENTS/HEADERS

Схема запчастей Case IH 8340 - (7-18) - FRAME & HEADER UPPER SUPPORT ASSEMBLY (58) - ATTACHMENTS/HEADERS
19
7
19
7
21
22
3
10
22
21
11
15
4
18
9
5
10
14
7
16
18
1
24
8
4
10
20
23
7
6
10
14
3
26
15
12
1
11
25
13
2
2
7
9
8
11
17
11
FIT
1:1
100%

Артикул

Название

Примечание

Количество

1

700118047

PIVOT

WA

2шт.

2

700118050

STRAP

2шт.

3

700118046

WASHER

- wear

2шт.

4

700118275

ROD

WA

2шт.

5

413-1296

BOLT,Hex, 3/4" - 10 x 6", Gr 5

3/4-10 X 6 C

2шт.

6

705566

WASHER

3/4 HARDENED PLAIN WASHER

2шт.

7

232-53112

FLANGE NUT,Flg, 3/4"-10

3/4-10 HFTLN GR/G

6шт.

8

497800

WASHER

2шт.

9

700118045

SPACER

2шт.

10

219-93

LUBE NIPPLE,90 Degree Elbow, 1/4" - 28 NPTF

4шт.

11

6180574

BUSHING

SPACER

4шт.

12

413-864

BOLT,Hex, 1/2" - 13 x 4", Gr 5

1/2-13 X 4 C

2шт.

13

231-5348

FLANGE NUT,Flg, 1/2"-13

1/2-13 HFTLN GR/G

2шт.

14

700118051

ARM

WA - upper

2шт.

15

700701842

BOLT

3/4-10 X 10-1/2 B

2шт.

16

129-410

WING NUT,3/8"-16

1шт.

17

700111467

COVER

1шт.

18

111-360

CARRIAGE BOLT,Short NK, 3/8"-16 x 3/4", G5

BOLT, CARRIAGE, Short NK, 3/8"-16 x 3/4", G5

2шт.

19

496-11041

WASHER,13/32" x 13/16" x .065", HDN

3/8 HARDENED PLAIN WASHER

2шт.

20

231-4216

LOCK NUT,3/8"-16, GB

3/8-16 HCLN GR/B

1шт.

21

2018653

WASHER

2шт.

22

700708591

BUSHING

CUSHION - stop

2шт.

23

700118112

FRAME

MAINFRAME WA

1шт.

24

6251292

STOP

3шт.

25

427-6225

CLEVIS PIN,3/8" x 2 1/4"

PIN - clevis

3шт.

26

T54573

PIN

.120 WIRE HAIR PIN COTTER

3шт.

Выбрано товаров: 26