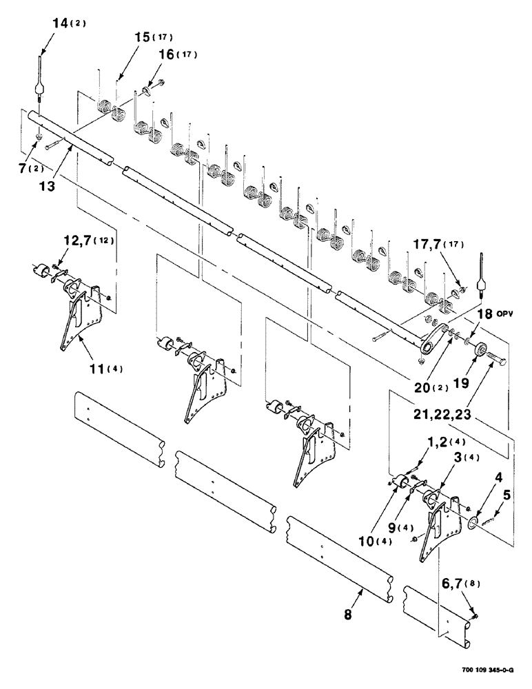
Запчасти Case IH 8350 (6-08) - REEL BAT AND TINE TUBE ASSEMBLY, TINE TUBE ASSEMBLY "B" (09) - CHASSIS

Схема запчастей Case IH 8350 - (6-08) - REEL BAT AND TINE TUBE ASSEMBLY, TINE TUBE ASSEMBLY "B" (09) - CHASSIS
14
12
5
15
23
18
7
20
13
11
21
2
17
3
22
9
19
16
10
6
4
7
7
1
7
8
FIT
1:1
100%

Артикул

Название

Примечание

Количество

1

413-432

BOLT,Hex, 1/4" - 20 x 2", Gr 5

4шт.

2

230-4214

LOCK NUT,1/4"-20, GA

NUT, LOCK, 1/4"-20, GA

4шт.

3

6105621

FLANGE

HOUSING - bearing

4шт.

4

195-2139

WASHER,36.52mm ID x 57.15mm OD x 2.03mm Thk

1-3/8 X 14 GAUGE NRMB

1шт.

5

432-1632

COTTER PIN,1/4" x 2"

Pin, Split (Cotter), 1/4" x 2"

1шт.

6

413-58

BOLT,Hex, 5/16" - 18 x 1/2", Gr 5

5/16-18 X 1/2 C

8шт.

7

231-5145

SERRATED NUT,Flg, USR, 5/16"-18

NUT, Flg, USR, 5/16"-18

39шт.

8

7017643

BAT

- reel

1шт.

9

6831986

COVER

- bearing

4шт.

10

6105159

NYLON BEARING,1.75"

BEARING - tine

4шт.

11

700109349

SUPPORT

- bearing

4шт.

12

121-115

SERRATED BOLT,Hex, 5/16" - 18 x 3/4"

12шт.

13

700109346

TUBE

WA - tine, 12 foot "B"

1шт.

14

756163

TINE

- single

2шт.

15

750075

TINE

- double

17шт.

16

261024

CLIP

- tine

17шт.

17

413-532

BOLT,Hex, 5/16" - 18 x 2", Gr 5

17шт.

18

52175

BUSHING,25.48mm ID x 38.2mm OD x 3.17mm L

5/8 X 18 GAUGE NRMB

1шт.

19

667925R91

ROLLER BEARING,0.628" ID x 2" OD x 15 mm

1шт.

20

52233

BUSHING

5/8 X 14 GAUGE NRMB

2шт.

21

8701005

SPECIAL BOLT,Hex, 5/8" - 18 x 2 1/4", Gr 5

5/8-18 X 2-1/4 C SPECIAL

1шт.

22

492-11062

BEARING WASHER,5/8"

WASHER, LOCK, 5/8"

1шт.

23

425-1510

JAM NUT,Jam, 5/8"-18, G5

5/8-18 HEX JAM NUT GR 2

1шт.

Выбрано товаров: 23