Запчасти Case IH 8350 (7-14) - FLOTATION SPRING ASSEMBLIES, LEFT AND RIGHT (09) - CHASSIS

Схема запчастей Case IH 8350 - (7-14) - FLOTATION SPRING ASSEMBLIES, LEFT AND RIGHT (09) - CHASSIS
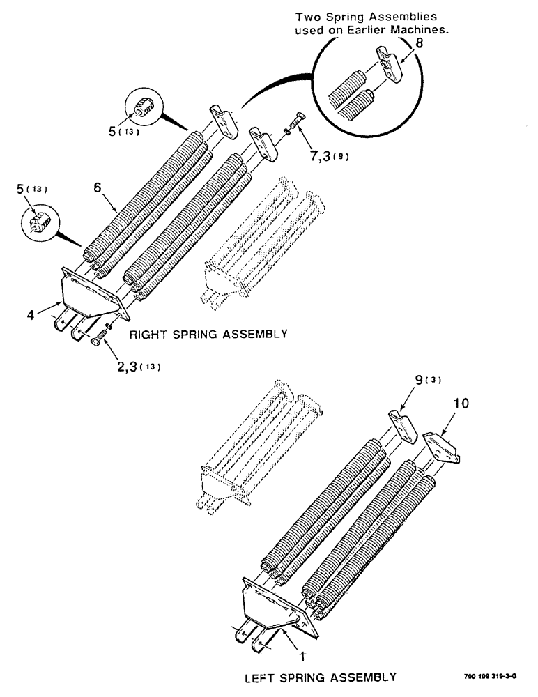
8
5
1
9
3
7
4
3
5
10
2
6
FIT
1:1
100%

Артикул

Название

Примечание

Количество

1

700109596

MOUNTING PARTS

MOUNTING - spring, lower, left

1шт.

2

413-1224

BOLT,Hex, 3/4" - 10 x 1-1/2", Gr 5

3/4-10 X 1-1/2 C

13шт.

3

492-11075

LOCK WASHER,3/4"

3/4"

22шт.

4

700109602

MOUNTING PARTS

MOUNTING - spring, lower, right

1шт.

5

280040

PLUG

- spring

26шт.

6

6229629

SPRING

ASSEMBLY (Includes item 5)

1шт.

7

413-1220

BOLT,Hex, 3/4" - 10 x 1-1/4", Gr 5

3/4-10 X 1-1/4 C

9шт.

8

1662009

ANCHOR

- two spring, upper

1шт.

9

700109599

CHANNEL

ANCHOR - three spring, upper

3шт.

10

700109600

ANCHOR

- four spring, upper

1шт.

Выбрано товаров: 10