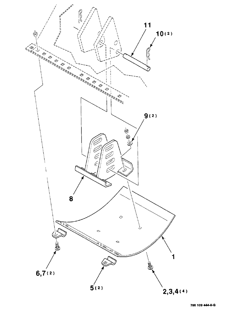
Запчасти Case IH 8350 (7-18) - SKID SHOE ASSEMBLY (09) - CHASSIS

Схема запчастей Case IH 8350 - (7-18) - SKID SHOE ASSEMBLY (09) - CHASSIS
9
1
2
11
7
6
5
3
8
10
4
FIT
1:1
100%

Артикул

Название

Примечание

Количество

1

700109502

SHOE

SKID SHOE

1шт.

2

118-140

PLOW BOLT,3/8"-16 x 1 1/8", G5

3/16-18 X 1-1/4 PLOW BOLT

4шт.

3

492-11038

LOCK WASHER,3/8"

4шт.

4

425-106

NUT,3/8"-16, Cl 5

4шт.

5

6453799

CLIP

- skid shoe

2шт.

6

111-404

CARRIAGE BOLT,Short NK, 7/16"-14 x 1 1/4", G5

BOLT, CARRIAGE, Short NK, 7/16"-14 x 1 1/4", G5

2шт.

7

425-107

NUT,7/16"-14, G5

7/16-14 H

2шт.

8

700109503

SUPPORT

WA - skid shoe

1шт.

9

496-11041

WASHER,13/32" x 13/16" x .065", HDN

3/8 HARDENED PLAIN WASHER

2шт.

10

S120261

PIN

.148 WIRE HAIRPIN COTTER

2шт.

11

700109536

PIN

- skid shoe

1шт.

Выбрано товаров: 11