Запчасти Case IH 8370 (9-28) - GAUGE WHEEL KIT, 14 FOOT, HK60560 COMPLETE, TO BE ORDERED THRU WHOLEGOODS ONLY (09) - CHASSIS

Схема запчастей Case IH 8370 - (9-28) - GAUGE WHEEL KIT, 14 FOOT, HK60560 COMPLETE, TO BE ORDERED THRU WHOLEGOODS ONLY (09) - CHASSIS
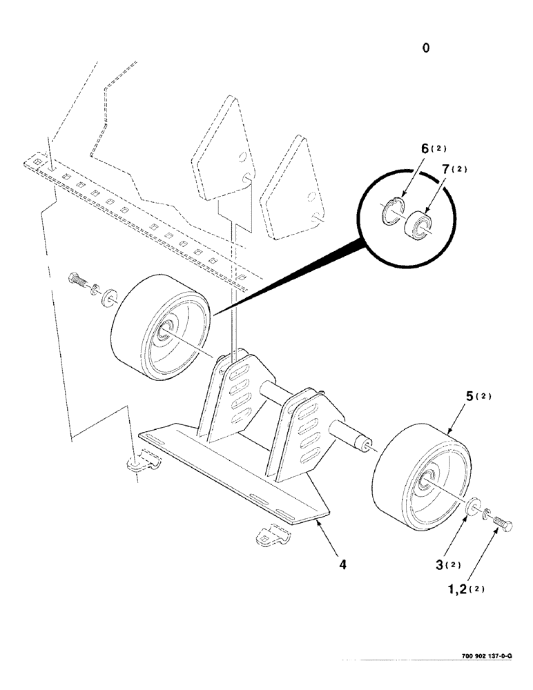
4
6
2
5
1
7
3
FIT
1:1
100%

Артикул

Название

Примечание

Количество

HK60560

WHEEL

GAUGE WHEEL KIT COMPLETE

1шт.

1

413-820

BOLT,Hex, 1/2" - 13 x 1-1/4", Gr 5

2шт.

2

80679

LOCK WASHER,1/20.507 CST ZND

WASHER, LOCK, 1/2"

2шт.

3

6223374

WASHER

2шт.

4

700119706

SUPPORT

- wheel

1шт.

5

700119691

WHEEL

ASSEMBLY - gauge (Includes items 12 and 13)

2шт.

6

100-21218

SNAP RING,2.165", Int, #216

Ring, Snap, 2.165", Int, #216

2шт.

7

700709106

BEARING, ROLLER, CYL,29.99mm ID x 55mm OD x 23.02mm W

BEARING - cylindrical

2шт.

Выбрано товаров: 8