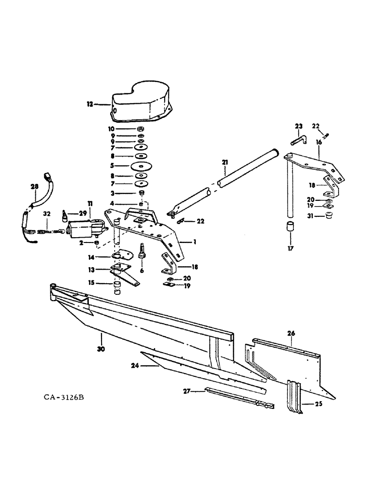
Запчасти Case IH 990 (S-36) - WINDROW PLACEMENT ATTACHMENT, FOR 7 FT. AND 9 FT.

Схема запчастей Case IH 990 - (S-36) - WINDROW PLACEMENT ATTACHMENT, FOR 7 FT. AND 9 FT.
FIT
1:1
100%

Артикул

Название

Примечание

Количество

1

55828C91

BUSHING ASSY, LH pivot arm

1шт.

2

55825C1

BUSHING,8.03mm ID x 12.74mm OD x 9.65mm L

1шт.

3

55826C1

BUSHING,15.9mm ID x 20.7mm OD x 12.7mm L

1шт.

4

55827C2

BUSHING

1шт.

5

55829C1

GEAR

1шт.

6

55830C1

PINION

1шт.

22771R1

WASHER

21/32 x 1-1/4 x 22 ga C-Z

2шт.

7

55831C1

RETAINER, washer

2шт.

8

55832C1

DISC, rubber

2шт.

9

462868R1

WASHER, Bellville

2шт.

10

57072C1

NUT, 5/8-18 center locking jam

1шт.

11

126573C1

MOTOR, ELECTRIC

ACTUATOR, replaces 55833C1 by also ordering cable 126569C1

1шт.

21843R1

WASHER

13/32 x 1 x 4 ga C-Z

3шт.

548645R1

BOLT,1/4" - 20 x 7/8", Cl 5

SCREW, 1/4-20 x 7/8 znd hex-hd cap

3шт.

12

55852C1

SHIELD

motor

1шт.

12653R1

BOLT (SPREADER),Short NK, 1/4"-20 x 3/4", G2

BOLT, CARRIAGE, Short NK, 1/4"-20 x 3/4", G2

4шт.

938016R1

FLANGE NUT,Flg, USR, 1/4"-20

1/4-20 C-Z whiz flange

4шт.

13

55839C91

BUSHING ASSY, quadrant

1шт.

14

55838C1

GEAR, segment

1шт.

454869

BOLT,Hex, 5/16" - 18 x 3/4", Gr 8

SCREW, 5/16-18 x 3/4 znd hex-hd cap

3шт.

938017R1

FLANGE NUT,Flg, USR, 5/16"-18

5/16-18 C-Z whiz flange

3шт.

15

527132R1

BUSHING,19.06mm ID x 22.21mm OD x 25.4mm L

1шт.

17351R1

CARRIAGE BOLT,Short Sq Nk, 3/8" - 16 x 1", Gr 2

BOLT, 3/8 x 1 znd sq-nk crg

2шт.

482256R1

BEARING LOCK NUT,Flg, USR, 3/8"-16

3/8-16 C-Z whiz flange

2шт.

16

55840C1

ARM ASSY, pivot RH

1шт.

17

55836C1

TUBE

1шт.

18

55842C1

BRACKET

2шт.

19

55843C1

PAD, nylon guide

2шт.

20

57788C1

SPACER

2шт.

124829

JAM NUT,Hex, 3/8" - 16, Gr 5

2шт.

180194

BOLT,Hex, 1/2" - 13 x 4", Gr 5

SCREW, 1/2 x 4 znd hex-hd cap

2шт.

120384

WASHER,1/2"

LOCK, 1/2"

2шт.

21903R1

WASHER

.531 x .750 x .054 znd

4шт.

17351R1

CARRIAGE BOLT,Short Sq Nk, 3/8" - 16 x 1", Gr 2

BOLT, 3/8 x 1 znd sq-nk crg

4шт.

482256R1

BEARING LOCK NUT,Flg, USR, 3/8"-16

3/8-16 C-Z whiz flange

5шт.

21757R1

WASHER

25/32 x 1-1/4 x 22 ga C-Z

6шт.

113-206

BOLT,Hex, 3/8" - 16 x 3/4", Gr 5, Full Thd

3/8-16 x 3/4 znd hex-hd cap

1шт.

477589R1

WASHER

SCREW, .406 x 1-1/2 x .105 znd plain

2шт.

21

55844C1

ROD ASSY, push-pull 7 ft.

1шт.

21

55846C1

ROD ASSY, push-pull 9 ft.

1шт.

22

153528C1

COTTER PIN

QA

2шт.

460908R1

WASHER

17/32 x 1-1/2 x 12 ga znd flat

1шт.

23

526509R1

ROD, adj

1шт.

607895R1

WASHER

17/32 x 1 x 12 ga C-Z

1шт.

120238

JAM NUT,Jam, 1/2"-13, G5

1/2-13 znd hex. jam

1шт.

24

55848C1

SHEET, Windrow extension

2шт.

25

57773C1

STRIP, reinforcement LH, for 9 ft.

1шт.

25

57774C1

STRIP, reinforcement RH, for 9 ft.

1шт.

26

55913C1

SHEET, extension RH, for 9 ft.

1шт.

26

55914C1

SHEET, extension LH, for 9 ft.

1шт.

27

57769C1

ANGLE, extension support LH, for 9 ft.

1шт.

27

57770C1

ANGLE, extension support RH, for 9 ft.

1шт.

477-73108

SERRATED SCREW,Sl Truss Hd, 5/16" - 18 x 1/2"

5/16-18 x 1/2 C-Z whiz, 10 for 7 ft., 38 for 9 ft.

1шт.

938017R1

FLANGE NUT,Flg, USR, 5/16"-18

5/16-18 C-Z whiz flange, 10 for 7 ft., 38 for 9 ft.

1шт.

28

55854C1

HARNESS

wiring

1шт.

29

299404C1

CLAMP

cable phc rubber coated

3шт.

413-412

BOLT,Hex, 1/4" - 20 x 3/4", Gr 5

1шт.

23505R1

WASHER

9/32 x 5/8 x 16 ga C-Z

1шт.

938016R1

FLANGE NUT,Flg, USR, 1/4"-20

1/4-20 C-Z whiz flange

1шт.

30

55497C2

SHEET ASSY, Windrow LH

1шт.

30

55498C2

SHEET

ASSY, Windrow RH

1шт.

31

324540C1

BUSHING, nylon, for 7 ft. and 9 ft. machines built after serial no. 7581 rubber and steel rolls and 5366 double rubber rolls

1шт.

32

126569C1

CABLE

JUMPER CABLE

1шт.

Выбрано товаров: 63