Запчасти Case IH 3104 (A-11) - HYDRAULIC LIFT, CHAIN LIFTING

Схема запчастей Case IH 3104 - (A-11) - HYDRAULIC LIFT, CHAIN LIFTING
FIT
1:1
100%

Артикул

Название

Примечание

Количество

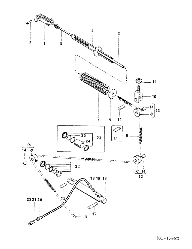
1

3169871R1

POST

gag, 3106

1шт.

1

3159076R1

DRAG LINK

POST, gag, 3104

1шт.

930306R1

BOLT

5/8 x 3 hex. head

1шт.

114507

JAM NUT,Jam, 5/8"-11, G5

1шт.

Q1176

HEADED PIN,5/8" x 2 3/16"

PIN, 5/8 x 2-3/16 headed drilled

1шт.

575810R1

WASHER

17 x 38 x 3 mm plain

2шт.

2

3159080R1

AXLE

post gag

1шт.

PIN, 3/16 x 1-5/8 cotter

1шт.

3

3159081R2

LINK

upper lifting, 3104

1шт.

3

3167973R1

LINK

upper lifting, 3106

1шт.

4

3159084R1

GUIDE

spring

1шт.

5

3159087R1

BOLT

EYEBOLT, adjusting

1шт.

6

3159083R1

STOP

spring, 3104

1шт.

6

3167975R1

STOP

spring, 3106

1шт.

3169585R1

LOCK NUT,M12 x 1.75, Cl 8

NUT, 12mm lock

1шт.

7

3159088R1

SPRING

3104

1шт.

7

3167978R1

SPRING

3106

1шт.

8

3159089R1

CHAIN, lifting, 3104, includes 3159211R1, axle w/connecting cotters

2шт.

8

3167976R91

CHAIN (AG)

CHAIN, lifting, 3106, includes 3167977R1, axle w/connecting cotters

2шт.

9

3159090R2

SCREW

LINK, lifting lower, 3104

1шт.

9

3167979R1

LINK

lifting lower, 3106

1шт.

10

3159091R2

CLEVIS

replaces 3159091R1 with the condition to order also, on 1st replacement 1 - 3165488R1 and 2 cotter pins 6.3 x 38 mm for 3104

1шт.

11

3159094R1

BRACKET, PIVOT

SWIVEL

1шт.

932509R1

PIN

6 x 32 mm roll

1шт.

12

3165488R1

LARGE PIN

AXLE, pulley, new mouting for 3104

2шт.

12

3159095R1

LARGE PIN

AXLE, pulley, former mouting for 3104

1шт.

PIN, 1/4 x 1-1/2 cotter

4шт.

13

3167980R91

PULLEY

lifting, built 1979, replaces 3159096R91

1шт.

14

793168R2

BUSHING,25.03mm ID x 28.24mm OD x 25.5mm L

3шт.

15

3165489R1

AXLE

cylinder RH, w/2 cotter pins 6.3 x 40mm, replaces 3159098R1 for 3104

1шт.

PIN, 1/4 x 1-9/16 cotter

2шт.

16

3159101R1

CYLINDER

lifting, built 1979

1шт.

16

3177775R1

CYLINDER BLOCK

CYLINDER, lifting, built 1980

1шт.

17

3159102R1

AXLE

cylinder left

1шт.

PIN, 1/4 x 1-9/16 cotter

2шт.

18

3159103R2

COUPLING, BREAK AWAY

COUPLING, male

1шт.

19

1405724R1

WASHER

SEAL

1шт.

20

3159104R1

HOSE

1шт.

21

364885R1

O-RING,0.097" Thk x 0.755" ID, -910, Cl 6, 90 Duro

1шт.

22

3161090R1

COUPLING, BREAK AWAY

COUPLING, 3104, 3106

1шт.

23

3171228R1

GASKET KIT

SET OF REPAIR PARTS FOR HYDRAULIC CYLINDER 3159101R1, for cylinder new mounting 0530-015-011

1шт.

23

3159105R1

RING, SET

SET OF REPAIR PARTS FOR HYDRAULIC CYLINDER 3159101R1, for cylinder former mounting 0530-015-003

1шт.

23

3178800R1

KIT

SET OF REPAIR PARTS FOR HYDRAULIC CYLINDER 3177775R1

1шт.

24

3159106R1

RING

guide, former mounting for cyl 0530-015-003

1шт.

25

3159107R1

RING

former mounting for cyl 0530-015-003

1шт.

26

3167980R91

PULLEY

lifting, built 1979

1шт.

26

3177784R91

PULLEY

lifting, built 1980

1шт.

Выбрано товаров: 47