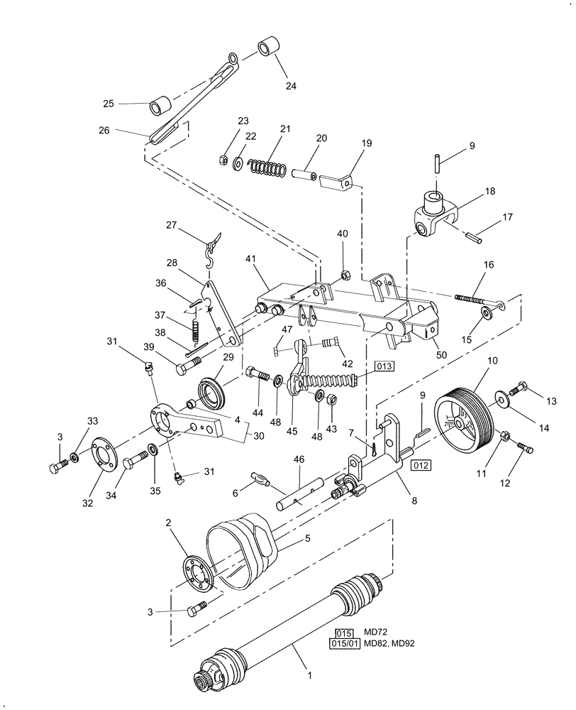
Запчасти Case IH MD82 (010) - FRAME, LIFT ARM (58) - ATTACHMENTS/HEADERS

Схема запчастей Case IH MD82 - (010) - FRAME, LIFT ARM (58) - ATTACHMENTS/HEADERS
6
11
28
3
9
45
14
37
23
24
19
48
40
48
39
21
md92
46
18
4
25
7
31
34
13
9
29
17
2
26
50
1
35
33
41
5
013
015
015/01
012
15
md72
16
27
12
38
22
31
3
36
47
43
30
44
10
32
20
8
42
FIT
1:1
100%

Артикул

Название

Примечание

Количество

1

87013311

PTO

MD72

1шт.

1

87013312

PTO

MD82 & MD92

1шт.

2

9805404

RING

1шт.

3

88434

BOLT,Hex, 3/8" - 16 x 3/4", Gr 5

6шт.

4

86512604

DRIVE BUSHING,88.9mm ID x 93.66mm OD x 25.65mm L

1шт.

5

9617825

SHIELD

PTO

1шт.

6

633734

GROOVED PIN,7.94mm OD x 50.8mm L

2шт.

7

87395

COTTER PIN,1/8" OD x 1-1/4" OAL

1шт.

8

0C

ORDER COMPONENTS

Belt Pivot

1шт.

9

87496

KEY

Square, 3/8" x 2-1/2"

2шт.

10

86504271

PULLEY

1шт.

11

86509499

JAM NUT,3/8"-16, G2

2шт.

12

87532

SET SCREW,Sq Hd, 3/8"-16 x 1 1/4"

2шт.

13

88206

BOLT,Hex, 3/8" - 16 x 1", Gr 5

1шт.

14

623303

WASHER,10.32mm ID x 47.63mm OD x 4.76mm Thk

1шт.

15

86511191

WASHER,0.81" ID x 2" OD x 0.15" Thk

1шт.

16

9860121

EYEBOLT

G2, 1/2"-13 x 16"

1шт.

17

280578

PIN,9.53mm OD x 69.85mm L

1шт.

18

86506808

PIVOT

Bottom

1шт.

19

87014807

GAUGE

1шт.

20

87014804

SPACER

1шт.

21

86519152

SPRING

Compression

1шт.

22

29684

WASHER,13.5mm ID x 50.8mm OD x 5.52mm Thk

1шт.

23

87530607

NUT

Lock, G5, 1/2"-13

1шт.

24

87014785

SPACER

1шт.

25

87014786

TUBE,1.02" ID x 1.51" OD x 1.75" L

1шт.

26

87014818

STOP

1шт.

27

618163

ROPE

1шт.

28

87014695

LATCH

1шт.

29

86510943

THRUST WASHER,89.5mm ID x 142mm OD x 15mm Thk

1шт.

30

87014711

ARM

1шт.

31

87415

LUBE NIPPLE,90 Degree, 1/4" NPT x 3/4" L, Drive

2шт.

32

86515629

SHIELD

1шт.

33

80680

LOCK WASHER,3/8 0.381 CST ZND

4шт.

34

86529932

BOLT,Hex, 3/4" - 10 x 1 1/2", Gr 8, Full Thd

4шт.

35

87014621

WASHER

4шт.

36

394818

COTTER PIN,M5 x 25

1шт.

37

163826

SPRING,Extension, 0.732” OD x 2.75” L

Extension

1шт.

38

86523959

COTTER PIN,3/16" x 2 1/2"

1шт.

39

88962

BOLT,Hex, 1" - 8 x 3 1/2", Gr 5

1шт.

40

280286

NUT,1"-8, GB

1шт.

41

87014789

LIFT ARM

1шт.

42

280864

BOLT,Hex, 7/8" - 9 x 3 3/4", Gr 5

1шт.

43

86538215

NUT,1 1/8"-7, GB

1шт.

44

86538216

BOLT,Hex, 1-1/8" x 4", Gr 5

Cap, HH, G5, 1-1/8"-7 x 4"

1шт.

45

0C

ORDER COMPONENTS

Breakaway

1шт.

46

86506594

PIN,38.1mm OD x 262mm L

1шт.

47

280658

NUT,7/8"-9, GB

1шт.

48

128303

WASHER

1-1/8"

2шт.

Выбрано товаров: 49