Запчасти Case IH TD102 (08.01) - SHIELDING, RH & FRONT (90) - PLATFORM, CAB, BODYWORK AND DECALS

Схема запчастей Case IH TD102 - (08.01) - SHIELDING, RH & FRONT (90) - PLATFORM, CAB, BODYWORK AND DECALS
3
9
26
15
9
19
23
8
03.01
13
3
15.01
10
12
24
2
20
3
12
12
1
7
25
9
18
3
14.01
16
3
2
12
12
6
14
17
22
1
3
12
9
12
21
5
11
12
4
4
3
FIT
1:1
100%

Артикул

Название

Примечание

Количество

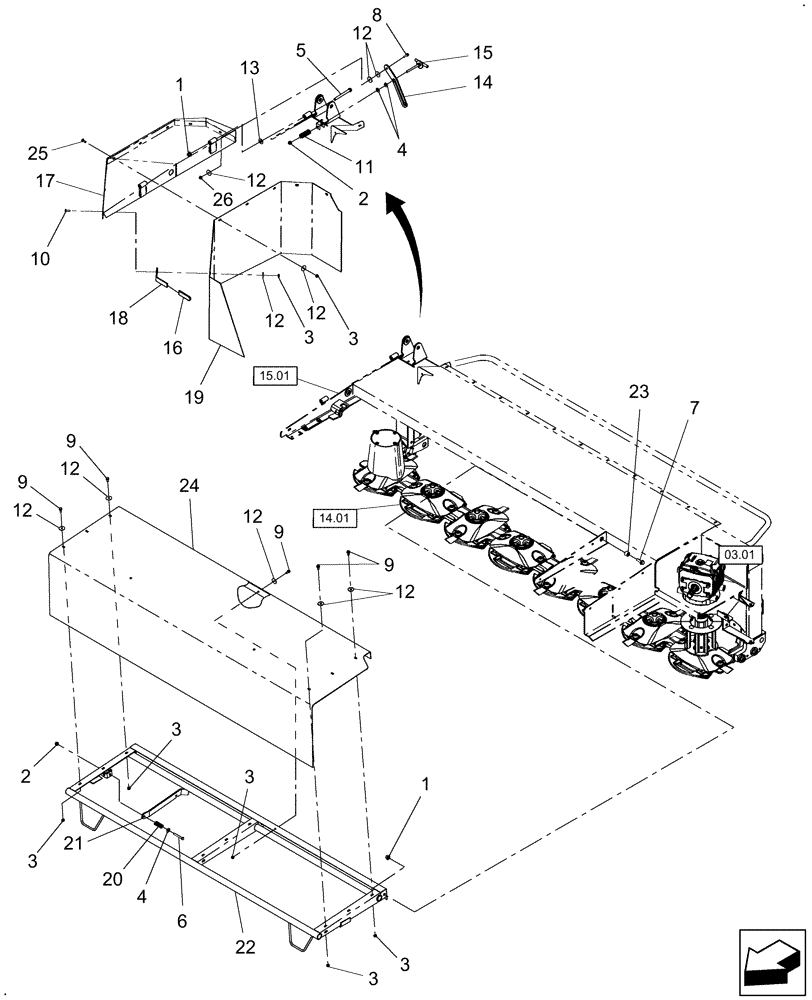
1

86521610

FLANGE NUT,Flg, 1/2"-13

4шт.

2

86521609

FLANGE NUT,Flg, 3/8"-16

2шт.

3

145458

SERRATED NUT,5/16"-18 GR 5 ZND

25шт.

4

80702

WASHER,0.44" ID x 1" OD x 0.08" Thk

3шт.

5

87997

BOLT,Hex, 1/2" - 13 x 5", Gr 5

2шт.

6

88444

BOLT,Hex, 3/8" - 16 x 2 3/4", Gr 5

1шт.

7

86521615

BOLT,Hex, 1/2" - 13 x 1 1/2", Gr 5

2шт.

8

86521553

BOLT,Hex, 5/16" - 18 x 1", Gr 5

1шт.

9

86521552

BOLT,Hex, 5/16" - 18 x 3/4", Gr 5

16шт.

10

280428

CARRIAGE BOLT,Short Nk, 5/16" - 18 x 1", Gr 5

7шт.

11

276222

SPRING

1шт.

12

80577826

WASHER,8.7mm ID x 34.93mm OD x 1.94mm Thk

27шт.

13

685896

WASHER

2шт.

14

87684820

ARM

1шт.

15

87665272

PIN

1шт.

16

219838

HANDLE GRIP

1шт.

17

84138143

SHIELD

RH

1шт.

18

87684821

ANGLE

1шт.

19

87665273

CURTAIN

RH

1шт.

20

42038

SPRING

1шт.

21

86526613

LATCH

1шт.

22

84137838

FRAME

1шт.

23

86622574

SPACER

2шт.

24

87650308

CURTAIN

Front

1шт.

25

280327

CARRIAGE BOLT,Sq Nk, 5/16" - 18 x 3/4", Gr 5, Full Thd

7шт.

26

9823743

FLANGE NUT,Flg, 5/16"-18

1шт.

Выбрано товаров: 26