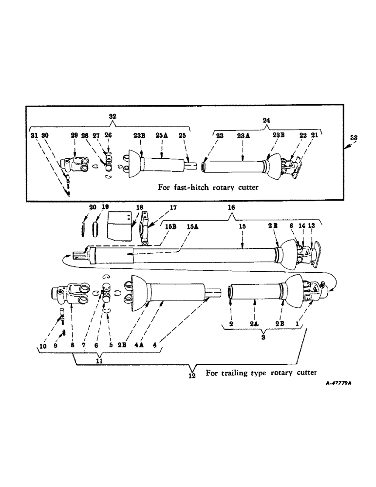
Запчасти Case IH 34U-FTC26 (B-09) - UNIVERSAL ASSEMBLIES, FOR TRAILING TYPE ROTARY CUTTER / FOR FAST-HITCH ROTARY CUTTERS

Схема запчастей Case IH 34U-FTC26 - (B-09) - UNIVERSAL ASSEMBLIES, FOR TRAILING TYPE ROTARY CUTTER / FOR FAST-HITCH ROTARY CUTTERS
FIT
1:1
100%

Артикул

Название

Примечание

Количество

1

662578R1

YOKE, front drive shaft rear (57-61)

1шт.

114496

HOURMETER,Jam, 1/2"-20, G5

NUT, jam, 1/2-2 ONF

1шт.

38904K

SET SCREW,1/2" - 20 x 1-9/16"

SCREW, set

1шт.

2

664312R91

YOKE, tube and sleeve, rear (welded assembly) (57-61) 17-3" Length

1шт.

2a

664317R91

SHIELD, rear half (welded assembly) (57-61)

1шт.

2b

662598R91

BEARING

shield ball (57-59)

4шт.

2b

461346R1

BEARING

nylon (59-61)

4шт.

2b

662589R1

THRUST WASHER

thrust, shield (57-61)

4шт.

3

662470R91

HALF, universal, rear, w/center cross (57-61)

1шт.

4

664322R91

YOKE AND SHAFT, front (welde assembly) (57-61)

1шт.

4a

664323R91

SHIELD, front half (welded assembly) (57-61)

1шт.

5

576420R1

RING

snap (57-61)

8шт.

6

569046R1

CROSS

center (order 569047R91)

2шт.

6

569047R91

REPAIR KIT

CROSS, center (consists of lubrication fitting, snap rings, center cross and needle cup assemblies) (57-61)

2шт.

6

569044R91

BEARING ASSY

CUP, needle, assembly (57-61)

8шт.

7

109350

FITTING, 1/8" 650 elbow lubrication

2шт.

8

568099R1

YOKE

spline (57-61)

1шт.

8

568100R91

SPARE PART

YOKE, spline, w/locking pin assembly (57-61)

1шт.

9

455347R1

VALVE SPRING

SPRING, locking pin

1шт.

10

455346R21

PIN

locking assembly

1шт.

661406R1

LOCK WASHER,4.83mm ID x 18.542mm OD x 1.65mm Thk

X-WASHER, locking pin

1шт.

11

662467R91

HALF, universal, front, assembly (57-61)

1шт.

12

661965R91

SHAFT, drive, front, assembly (not for service)

1шт.

13

102467H

FITTING

1/4" straight lubrication

1шт.

14

662577R91

YOKE, flange (welded assembly)

1шт.

15

664594R91

SHIELD, rear drive shaft, w/bell (welded assembly)

1шт.

15a

664155R91

SHIELD, rear drive shaft, short (welded assembly)

1шт.

15b

664593R91

YOKE AND SHAFT, rear drive shaft (welded assembly)

1шт.

16

661966R91

SHAFT, drive, rear, w/569047R91 center cross

1шт.

17

662022R1

BOX

drive shaft bearing

1шт.

18

662249R1

COVER, universal joint

1шт.

17404R1

BOLT,Hex, 5/16" - 18 x 1/2", Gr 2

machine, hex-hd., 5/16-18 NC x 1/2"

2шт.

103320

LOCK WASHER,5/16"

WASHER, LOCK, 5/16"

2шт.

19

558128R91

BEARING

drive shaft box (57-59)

1шт.

19

584148R91

BEARING ASSY,35mm ID x 72mm OD x 25mm W

BEARING, drive shaft box (59- )

1шт.

20

UA20551

RING

retainer, bearing

1шт.

21

219-8

LUBE NIPPLE,1/4" - 28 NPTF

NIPPLE, LUBE, , straight 1/4"-28 NPT x .54" lg

1шт.

22

662577R91

YOKE, flange (welded assembly)

1шт.

23

664313R91

YOKE, tube and sleeve, rear (welded assembly) (for 34U-FTC26)

1шт.

23

664316R91

YOKE, tube and sleeve, rear (welde assembly) (for 2CK-FTC26)

1шт.

23a

664318R91

SHIELD, rear half (welded assembly) (for 34U-FTC26)

1шт.

23a

664319R91

SHIELD, rear half (welded assembly) (for 2CK-FTC26)

1шт.

23b

662598R91

BEARING

shield ball (57-59)

2шт.

23b

461346R1

BEARING

nylon (59- )

2шт.

23b

662589R1

THRUST WASHER

thrust, shield

2шт.

24

662469R91

HALF, universal, rear, w/center cross (for 34U-FTC26)

1шт.

24

662468R91

HALF, universal, rear, w/center cross (for 2CK-FTC26)

1шт.

25

664322R91

YOKE AND SHAFT, front (welded assembly)

1шт.

25a

664323R91

SHIELD, front half (welded assembly)

1шт.

26

576420R1

RING

snap

8шт.

27

569046R1

CROSS

center (order 569047R91)

2шт.

27

569047R91

REPAIR KIT

CROSS, center (consists of lubrication fitting, snap rings, center cross and needle cup assemblies)

2шт.

27

569044R91

BEARING ASSY

CUP, needle, assembly

8шт.

28

80711

LUBE NIPPLE,65 Degree, 1/8" NPT x 7/8" lg

FITTING, 1/8" 65 degrees elbow lubrication

2шт.

29

568100R91

SPARE PART

YOKE, spline, w/locking pin assembly

1шт.

30

455346R21

PIN

locking, assembly

1шт.

661406R1

LOCK WASHER,4.83mm ID x 18.542mm OD x 1.65mm Thk

X-WASHER, locking pin

1шт.

31

455347R1

VALVE SPRING

SPRING, locking pin

1шт.

32

662467R91

HALF, universal, front, assembly

1шт.

33

661963R91

SHAFT, drive, assembly (for 34U-FTC26) (not for service)

1шт.

33

661964R91

SHAFT, drive, assembly (for 2CK-FTC26) (not for service)

1шт.

Выбрано товаров: 61