Запчасти Case IH 60FS (9-072) - GEARBOX ASSEMBLY, 60FS MOWER (03) - CHASSIS/MOUNTED EQUIPMENT

Схема запчастей Case IH 60FS - (9-072) - GEARBOX ASSEMBLY, 60FS MOWER (03) - CHASSIS/MOUNTED EQUIPMENT
FIT
1:1
100%

Артикул

Название

Примечание

Количество

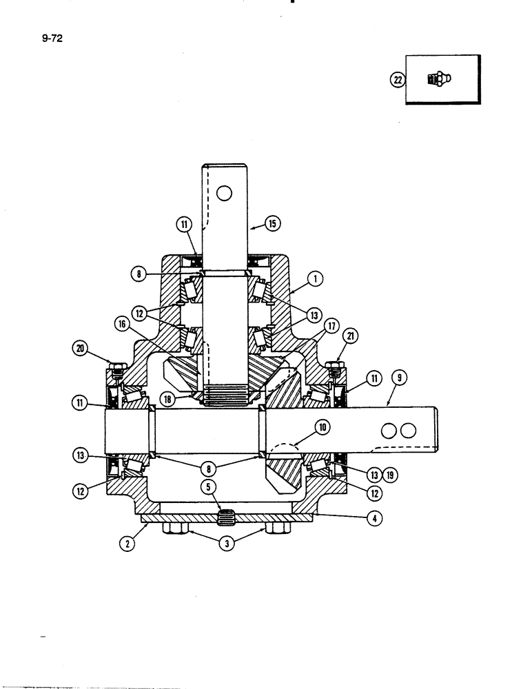
1960261C1

GEARBOX ASSY

GEARBOX ASSEMBLY - drive, PTO

1шт.

1

NSS

NOT SOLD SEPARAT

HOUSING - drive

1шт.

2

1973042C1

COVER

- housing

1шт.

3

113-101

BOLT,Hex, 5/16" - 18 x 1-1/2", Gr 5

4шт.

4

1973051C1

GASKET

- cover

1шт.

5

444631

PLUG

- hex socket pipe, 1/2 inch PT

3шт.

8

1958290C1

RING, SNAP

RING - snap, retaining

3шт.

9

1973048C1

SHAFT

- output

1шт.

10

218211

DRIVING SPROCKET

- 1/4 x 3/4 inch, Woodruff 91

1шт.

11

1973050C1

SEAL

- oil

3шт.

12

1973045C1

RING

- snap, retaining

4шт.

13

1973044C1

BEARING ASSY

BEARING ASSEMBLY - cup and cone

4шт.

15

1973047C1

SHAFT

- input

1шт.

16

1973049C1

BUCKET TOOTH KEY

KEY - square, gear

1шт.

17

1973043C1

GEAR

- bevel

2шт.

18

1973046C1

NUT

- stake, hex

1шт.

19

1973052C1

SHIM

- bearing

1шт.

20

1976597C1

PLUG

- vent, housing

1шт.

21

444688

PLUG

- hex socket pipe, 1/8 inch PT

1шт.

22

219-1

LUBE NIPPLE,1/8" - 27 NPTF

FITTING - grease, extra short, 1/8 inch PT

1шт.

Выбрано товаров: 20