Качественные детали и логистика
Оригинальные и аналоговые запчасти с доставкой по России, Казахстану и Беларуси
©2022 PartSell ООО "Система" ИНН 2463123282 ОГРН 1212400004838
Центральный офис: г. Красноярск, Академика Киренского, д.87, пом.4
Телефон: 8 (800) 777-65-74 Email: zakaz@partsell.ru
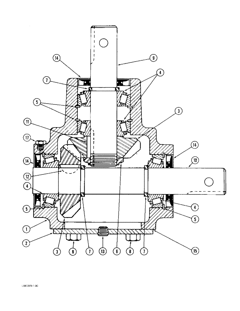
(44) - DRIVE GEARBOX ASSEMBLY
№
Артикул
Название
Примечание
Количество
1346604C1
GEARBOX ASSY
GEARBOX ASSEMBLY
1шт.
1
NSS
NOT SOLD SEPARAT
HOUSING - gearbox
2
1973042C1
COVER
- housing
3
1973043C1
GEAR
- bevel
2шт.
4
1973044C1
BEARING ASSY
BEARING ASSEMBLY - cup and cone
4шт.
5
1973045C1
RING
- snap, retaining
6
1973046C1
NUT
- stake, hex
7
1958290C1
RING, SNAP
RING - snap, retaining
3шт.
8
413-58
BOLT,Hex, 5/16" - 18 x 1/2", Gr 5
- hex, 5/16 NC x 1/2 inch
9
1346669C1
SHAFT
- input
10
1346670C1
- output
11
1973049C1
BUCKET TOOTH KEY
KEY - square, gear
12
126-117
WOODRUFF KEY,#91, 1/4" x 3/4", HT
13
221-849
PLUG,Hex Soc, 1/8"-27
- hex socket pipe, 1/8 inch PT
14
1973050C1
SEAL
- oil
15
1973051C1
GASKET
- cover
1973052C1
SHIM
- bearing
17
1976597C1
PLUG
- vent
Выбрано товаров: 0