Качественные детали и логистика
Оригинальные и аналоговые запчасти с доставкой по России, Казахстану и Беларуси
©2022 PartSell ООО "Система" ИНН 2463123282 ОГРН 1212400004838
Центральный офис: г. Красноярск, Академика Киренского, д.87, пом.4
Телефон: 8 (800) 777-65-74 Email: zakaz@partsell.ru
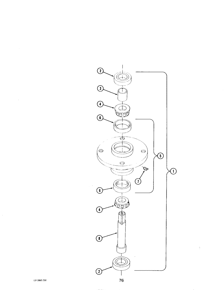
(76) - SPINDLE ASSEMBLY
№
Артикул
Название
Примечание
Количество
1
1993206C1
SPINDLE
ASSEMBLY - blade
3шт.
2
1993016C1
SEAL
- spindle
2шт.
3
1993105C1
SLEEVE
SPACER - 27/32 x 1-1/16 x 11/16 inch
1шт.
4
371882R91
ROLLER BEARING,20.64mm ID x 49.23mm OD x 19.84mm W
5
1993232C1
HOUSING - bearing, includes cups
6
371883R1
BEARING CUP
7
219-37
LUBE NIPPLE,45 Degree Elbow, 1/4" - 28 NPTF
FITTING - lube, 45 degree, 1/4 inch NF
8
1993207C1
SHAFT
Выбрано товаров: 0