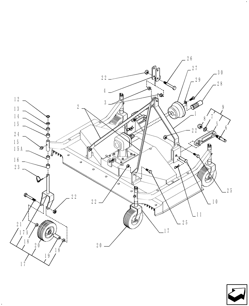
Запчасти Case IH RR72 (013) - WHEEL SUPPORTS & 3 POINT HITCH FOR 72" MOWER

Схема запчастей Case IH RR72 - (013) - WHEEL SUPPORTS & 3 POINT HITCH FOR 72" MOWER
10
16
22
18
8
25
15
2
6
18
3
24
17
15
25
22
4
12
15a
23
28
9
7
17a
1
14
13
5
20
22
26
30
21
20
22
17
19
29
11
27
FIT
1:1
100%

Артикул

Название

Примечание

Количество

1

CSE100120

3 POINT HITCH

Front Frame

1шт.

2

CSE100118

TIE-ROD

2шт.

3

SIT100062

SPACER

2шт.

4

CSE100115

TOP LINK

Hitch, Flex

1шт.

5

CSE100039

SUPPORT

Pin

2шт.

6

SIT105091

PIN

2шт.

7

86509829

LOCK WASHER,24.5mm ID x 40mm OD x 5mm Thk

2шт.

8

SIT600249

NUT

2шт.

9

SIT100010

PIN

Complete

2шт.

10

SIT100040

PIN

2шт.

11

PL

PROCURE LOCALLY

2шт.

12

SIT100042

SHIM,2mm Thk

2mm

4шт.

13

SIT100043

SHIM

6mm

4шт.

14

SIT100044

SHIM

12mm

4шт.

15

SIT100045

SHIM

25mm

4шт.

15a

SIT100045

SHIM

25mm

8шт.

USED ON & ASN YAWTB4001

1шт.

16

SIT100046

SHIM

32mm

4шт.

17

CSE110205

SUPPORT

W/Solid Wheel (Grey Rim) Includes: Ref. 17A-22

4шт.

17a

CSE100020

SUPPORT

Wheel, 8.19"

4шт.

17a

CSE110410

SUPPORT

Wheel, 9-3/16"

4шт.

USED ON & ASN YAWTB4001

1шт.

18

SIT100006

SHIM

8шт.

19

SIT100008

SPACER

4шт.

20

SIT620817

WHEEL

Grey Rim

4шт.

21

SIT600156

SCREW

M12x110

4шт.

22

100038

NUT,M12 x 1.75, Cl 8

9шт.

23

SIT600116

LINCH PIN

4шт.

24

321204

LUBE NIPPLE,M6 x 1.0 x 16mm OAL

4шт.

25

SIT600616

SCREW

M12x35

4шт.

26

120124

SCREW,Hex, M12 x 1.75 x 90mm, Cl 8.8, Full Thd

1шт.

27

87354171

GUARD

1шт.

28

SIT600172

PROTECTION

1шт.

29

80664

WASHER,0.38" ID x 0.88" OD x 0.08" Thk

2шт.

30

120103

BOLT,M8 x 1.25 x 16mm, Cl 8.8

2шт.

Выбрано товаров: 35