Запчасти Case IH RR90 (042) - MULCH KIT - 90" MOWER

Схема запчастей Case IH RR90 - (042) - MULCH KIT - 90" MOWER
9
9
3
6
7
3
10
8
4
11
10
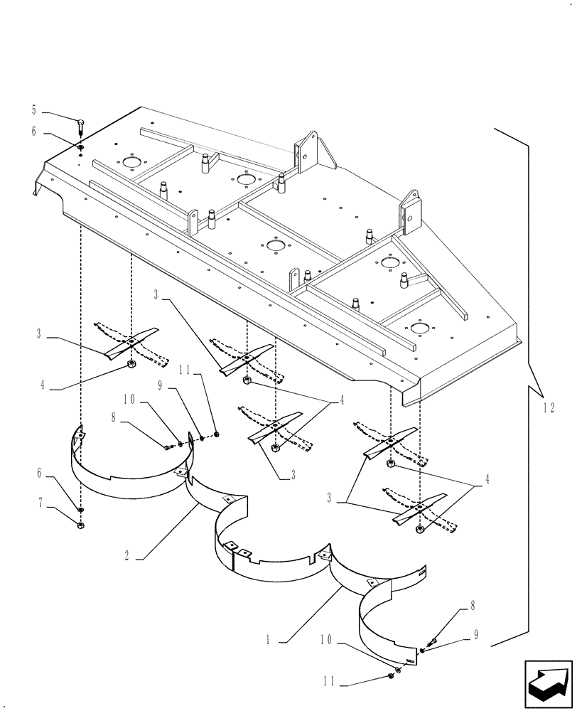
12
6
3
8
1
2
3
4
4
5
11
FIT
1:1
100%

Артикул

Название

Примечание

Количество

1

CSE110326

CONVEYOR

RH

1шт.

2

CSE110327

CONVEYOR

LH

1шт.

3

SIT100358

CUTTING BLADE

13.78" (350mm)

5шт.

4

SIT610701

NUT

M18x1.5

5шт.

5

43139

BOLT,M10 x 1.5 x 25mm, Cl 8.8

7шт.

6

86511323

WASHER,10.5mm ID x 20mm OD x 2mm Thk

14шт.

7

100037

LOCK NUT,M10 x 1.5, Cl 8

7шт.

8

120104

BOLT,Hex, M8 x 1.25 x 20mm, Cl 8.8

3шт.

9

86511315

WASHER,8.4mm ID x 16mm OD x 1.8mm Thk

3шт.

10

80664

WASHER,0.38" ID x 0.88" OD x 0.08" Thk

3шт.

11

86629542

NUT,M8 x 1.25, Cl 8.8

3шт.

12

SIT110285

SERVICE KIT

Mulch Includes: Ref. 1-11

1шт.

Выбрано товаров: 12