Запчасти Case IH 100 (A-19) - INDUSTRIAL THREE-POINT HITCH

Схема запчастей Case IH 100 - (A-19) - INDUSTRIAL THREE-POINT HITCH
FIT
1:1
100%

Артикул

Название

Примечание

Количество

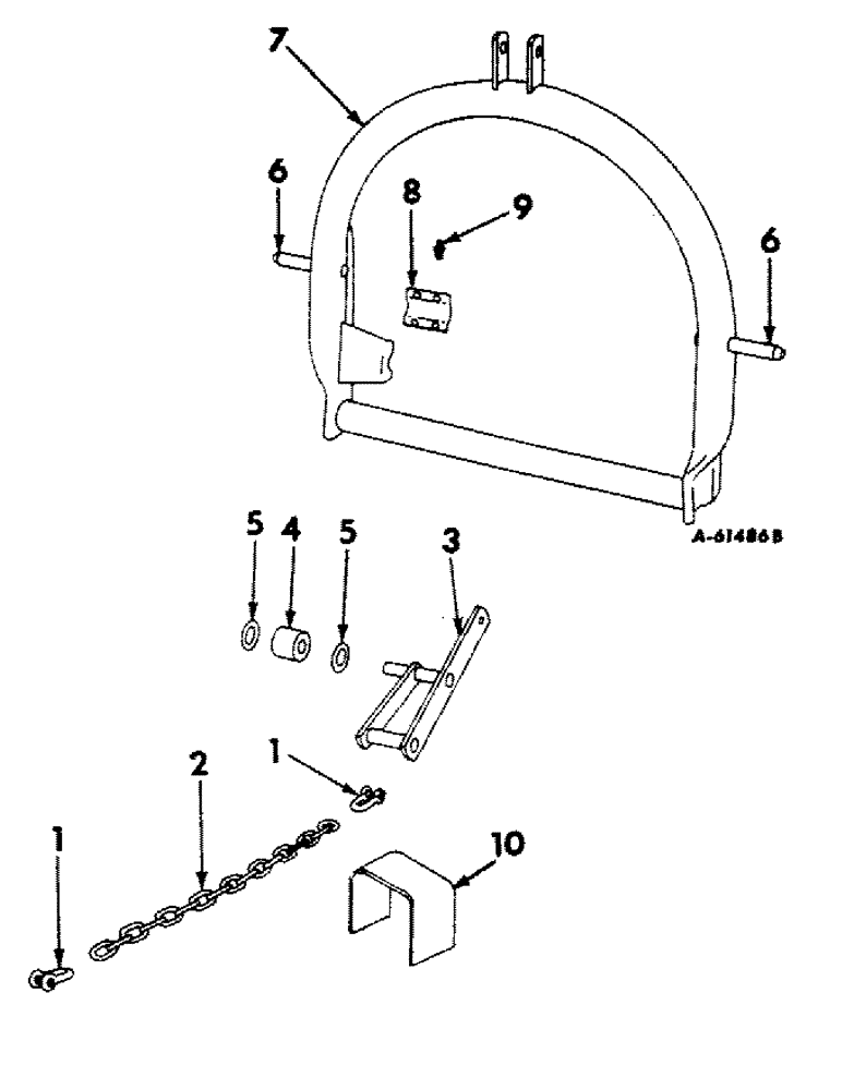
1

455369R2

CLEVIS

lifting chain support

2шт.

NA141

AXLE PIN,1/2" x 1 7/8"

PIN, 1/2 x 1-7/8 in. dld-std-hd

1шт.

PG141

PIN

1/2 x 2 in. dld-std-hd

1шт.

432-1216

COTTER PIN,3/16" x 1"

Pin, Split (Cotter), 3/16" x 1"

2шт.

2

460890R1

CHAIN, 15 links straight coil

1шт.

3

462738R12

ARM

ASSEMBLY, lifting, order 467282R91 and 467284R1

1шт.

3

467282R92

ARM

ASSEMBLY, lifting

1шт.

432-1624

COTTER PIN,1/4" x 1 1/2"

Pin, Split (Cotter), 1/4" x 1 1/2"

1шт.

4

462742R1

ROLLER, lifting arm, order 467284R1

1шт.

4

467284R1

BUSHING

ROLLER, lifting arm

1шт.

5

20798R1

WASHER

1-1/32 x 2 in. x 16 ga

1шт.

6

460857R1

PIN

coupling

2шт.

7

462731R92

DRAWBAR ASSEMBLY

1шт.

17412R1

BOLT,Hex, 3/8" - 16 x 3/4", Gr 2

3/8 x 3/4 in. mach

4шт.

103321

LOCK WASHER,3/8"

WASHER, LOCK, 3/8"

4шт.

102635

NUT,3/8"-16, G5

4шт.

8

462736R1

CLAMP

BLOCK, lifting arm pivot bearing

1шт.

9

86504104

LUBE NIPPLE,1/4" x .56" lg, Drive

FITTING, 1/4 in. straight drive lubrication, between brg. blocks

1шт.

10

458983R1

SHIELD, rear knuckle drive

1шт.

17426R1

BOLT,Hex, 3/8" - 16 x 1", Gr 2

3/8-16 x 1 hex-hd mach

1шт.

Q1505

WASHER

13/32 x 1 x 16 ga

2шт.

102635

NUT,3/8"-16, G5

1шт.

103321

LOCK WASHER,3/8"

WASHER, LOCK, 3/8"

1шт.

Выбрано товаров: 23