Запчасти Case IH 1110 (M-17) - HYDRAULIC EQUIPMENT, FOR CURB LIFT

Схема запчастей Case IH 1110 - (M-17) - HYDRAULIC EQUIPMENT, FOR CURB LIFT
FIT
1:1
100%

Артикул

Название

Примечание

Количество

465050R91

CYLINDER

ASSY, 2 x 5 in. single acting hydraulic, units B, C, D and E, for components see list of parts under details of hydraulic cylinder in section P

1шт.

22973R1

PIN,1" x 4 1/2"

1 x 4.500 hd type 1

1шт.

20341R1

COTTER PIN,1/4" x 2"

Pin, Split (Cotter), 1/4" x 2"

1шт.

23049R1

WASHER

1.031 x 2.500 x .105

2шт.

381832R93

CYLINDER BLOCK

CYLINDER ASSY, 2 x 8 in. single acting hydraulic, for components see list of parts under details of hydraulic cylinder in section P

1шт.

371291R95

CYLINDER

ASSY, 2-1/2 x 8 in. double acting hydraulic, unit A, order cylinder assy, 146353C91, two adapters, 1252129C1 and two o-rings, 570828R1, for components see list of parts under details of hydraulic cylinders in section P

1шт.

653337R91

HOSE ASSY, hyd 1/2 x 49 in., units A and D

1шт.

491766R91

HOSE ASSY, hyd 1/2 x 57 in., units B and C

1шт.

586992R91

HYDRAULIC HOSE,0.50" ID x 48.00"

HOSE ASSY, hyd 1/2 x 48 in., units B and C

1шт.

653338R91

HOSE ASSY, hyd 1/2 x 76 in., unit F

2шт.

364885R1

O-RING,0.097" Thk x 0.755" ID, -910, Cl 6, 90 Duro

5/8 od tube, 4 for units A, B and C, 6 for units D and E

1шт.

395149R1

QUICK MALE COUPLING

COUPLING, 7/8-14 str self-sealing male, units B and C

2шт.

444015

ADAPTER, 3/8-18 C-Z automotive pipe reducer, unit A

1шт.

444017

BUSHING

ADAPTER, 1/2-14 C-Z automotive pipe reducer, unit A

1шт.

463557R92

VALVE, needle, unit A

1шт.

526251R91

UNION

RESTRICTOR, w/1/16 orifice, unit A

1шт.

454099

ELBOW,45 Degree, 1/2"-14 Female x 1/2"-14 Male

1/2-14 C-Z 45 deg automotive pipe street, unit A

1шт.

454097

ELBOW

1/4-18 C-Z 45 deg automotive pipe street, unit A

1шт.

9410978

ELBOW,90 Degree, 7/8"-14, 37 Degree x 7/8"-14, O-Ring

7/8-14 C-Z 37 deg hyd flared tube adj str thd 90 deg for 5/8 tube, units B, C and D

1шт.

454135

TEE, 1/2-14 C-Z automotive pipe, unit A

1шт.

9402749

HYD CONNECTOR,7/8"-14, 37 Degree x 1/2"-14, Fem Pipe

CONNECTOR, 1/2-14 C-Z 37 deg hyd flared tube int pipe thd, unit A

3шт.

9410204

HYD CONNECTOR,7/8"-14, 37 Degree x 7/8"-14, O-Ring

CONNECTOR, 7/8-14 C-Z 37 deg hyd flared tube short swivel, unit E

2шт.

444033

ADAPTER

BUSHING, 1/2-14 x 1-4-18 C-Z automotive pipe reducer, unit A

3шт.

15203K

SPACER, hinge shaft, units B, C and D

1шт.

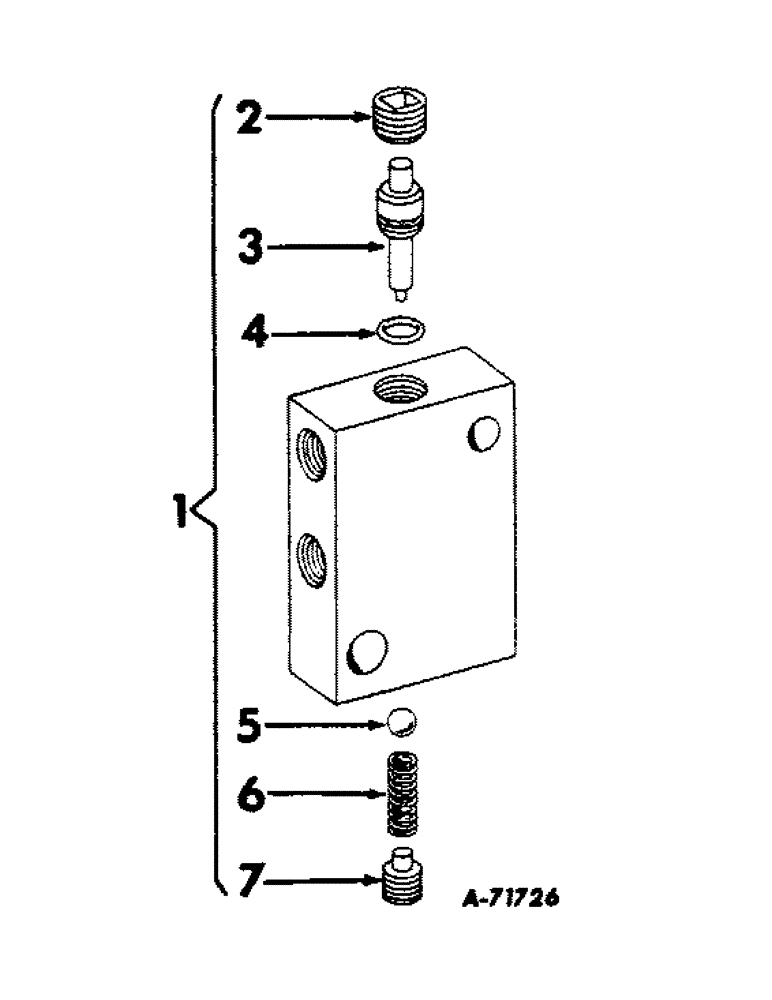
1

VALVE ASSY W/INSTRUCTION, check, order components parts (NSS)

1шт.

2

217-469

DRAIN PLUG,Sq Soc, 3/4" - 14 NPTF

PLUG, 3/4-14 automotive sq-soc-hd pipe

1шт.

3

362707R3

PISTON

actuator check valve

1шт.

4

350667R1

O-RING,0.103" Thk x 0.674" ID, -115, Cl 5, 75 Duro

RING, actuator check valve seal piston

1шт.

5

17016R1

BALL,1/2" Dia

1шт.

6

372649R1

SPRING

check valve

1шт.

7

362728R1

PLUG, check valve

1шт.

Выбрано товаров: 31