Запчасти Case IH 1110 (P-02) - HYDRAULIC CYLINDER, 2 X 5 IN. SINGLE ACTING

Схема запчастей Case IH 1110 - (P-02) - HYDRAULIC CYLINDER, 2 X 5 IN. SINGLE ACTING
FIT
1:1
100%

Артикул

Название

Примечание

Количество

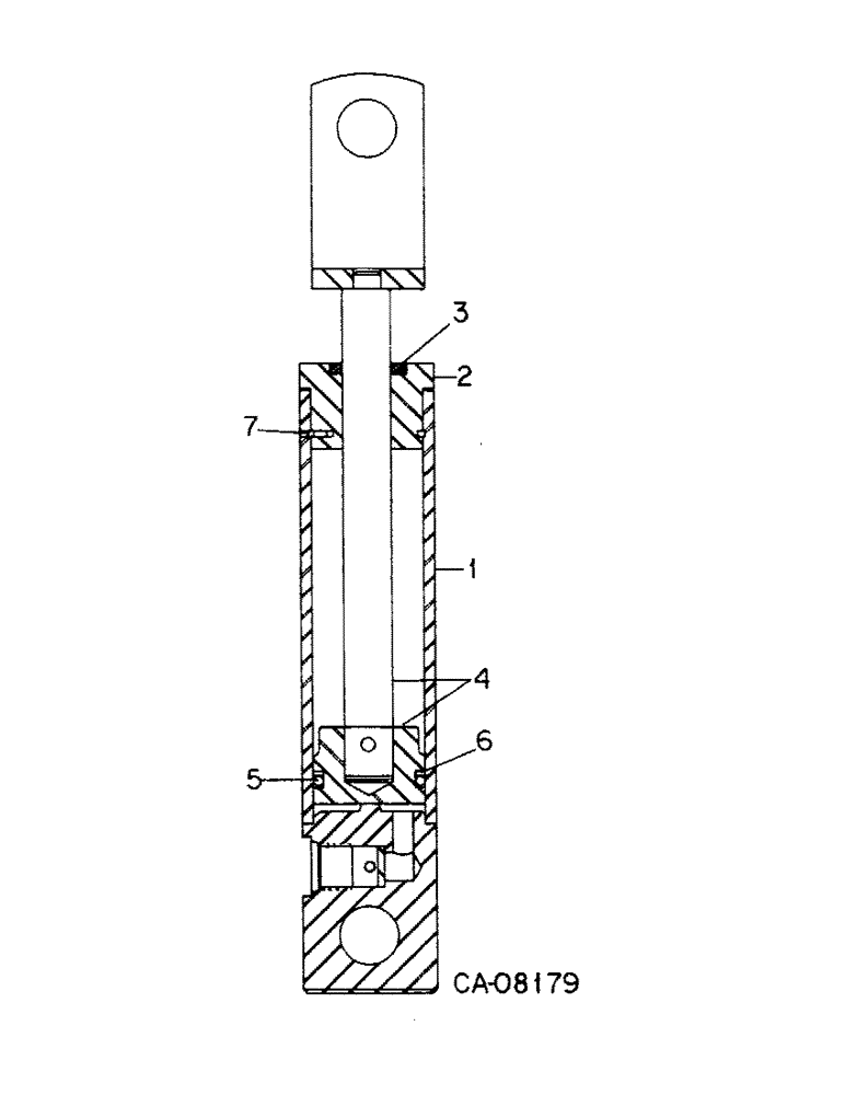
465050R91

CYLINDER

ASSY, 2 x 5 in. single acting hydraulic

1шт.

1

NSS

NOT SOLD SEPARAT

BODY ASSY, cylinder, order cylinder assy

1шт.

2

NSS

NOT SOLD SEPARAT

HEAD, front, order cylinder assy

1шт.

3

NSS

NOT SOLD SEPARAT

WIPER, piston rod, order cylinder assy

1шт.

4

NSS

NOT SOLD SEPARAT

ROD AND PISTON ASSY, cylinder, order cylinder assy

1шт.

112055

PIN,3/16" x 1 1/2"

3/16 x 1-1/2 pln sq end str

1шт.

5

NSS

NOT SOLD SEPARAT

O-RING, 1-5/8 x 2 class 6, order kit, 461181R92

1шт.

6

NSS

NOT SOLD SEPARAT

WASHER, o-ring back-up, order kit, 461181R92

1шт.

7

NSS

NOT SOLD SEPARAT

RING, retaining, order kit, 461181R92

1шт.

461181R92

SEAL KIT

KIT, o-ring and seal service, consists of Ref. nos. 5, 6 and 7

1шт.

Выбрано товаров: 10