Запчасти Case IH 22 (Q-12) - FLARING TOOL

Схема запчастей Case IH 22 - (Q-12) - FLARING TOOL
FIT
1:1
100%

Артикул

Название

Примечание

Количество

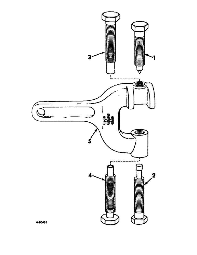
489611R92

TOOL ASSY.

KNIFE SECTION RIVETING TOOL PACKAGE, consists of Ref. nos. 3, 4, and 5

1шт.

55169C91

PACKAGE

LEDGER PLATE RIVETING TOOL PACKAGE, for use with 489611R92, consists of Ref. nos. 1 and 2

1шт.

1

489617R1

TOOL

flaring

1шт.

2

489616R1

TOOL

riveting

1шт.

3

489615R2

TOOL

rivet anvil

1шт.

4

489614R2

TOOL

heading

1шт.

5

NSS

NOT SOLD SEPARAT

HOLDER, riveting and flaring, order 489611R92

1шт.

Выбрано товаров: 7