Запчасти Case IH 3110 (N-14[B]) - FLARING TOOL

Схема запчастей Case IH 3110 - (N-14[B]) - FLARING TOOL
FIT
1:1
100%

Артикул

Название

Примечание

Количество

465050R91

CYLINDER

ASSY, 2 x 5 in. single acting hydraulic, for components see list of parts under details of hydraulic cylinder in section P

1шт.

22973R1

PIN,1" x 4 1/2"

1 x 4.500 hd type 1

1шт.

23049R1

WASHER

1.031 x 2.500 x .105

2шт.

20341R1

COTTER PIN,1/4" x 2"

Pin, Split (Cotter), 1/4" x 2"

1шт.

381832R93

CYLINDER BLOCK

CYLINDER ASSY, 2 x 8 in. single acting hydraulic, for components see list of parts under details of hydraulic cylinder in section P

1шт.

653337R91

HOSE ASSY, 1/2 x 49 in. hydraulic, for use w/hydraulic drive

2шт.

491766R91

HOSE ASSY, 1/2 x 57 in. hydraulic, for use w/mechanical drive

1шт.

586992R91

HYDRAULIC HOSE,0.50" ID x 48.00"

HOSE ASSY, 1/2 x 48 in. hydraulic, for use w/mechanical drive

1шт.

364885R1

O-RING,0.097" Thk x 0.755" ID, -910, Cl 6, 90 Duro

5/8 OD tube class 6, 4 used w/mechanical drive, 6 used w/hydraulic drive

1шт.

395149R1

QUICK MALE COUPLING

COUPLING, 7/8-14 str self-sealing male, 2 used w/mechanical drive

1шт.

9410978

ELBOW,90 Degree, 7/8"-14, 37 Degree x 7/8"-14, O-Ring

5/8 C-Z hyd fld adj 90D, one used w/mechanical drive, 2 used w/hydraulic drive

1шт.

15203K

SPACER, hinge shaft

1шт.

545553R1

UNION, restrictor, 2 used w/hydraulic drive

1шт.

9410282

ELBOW,90 Degree, 7/8"-14, 37 Degree x 7/8"-14, 37 Degree Fem Sw

5/8 C-Z hyd fld 90D swivel, used w/hydraulic drive

1шт.

9411132

TEE,7/8"-14, 37 Degree x 7/8"-14, O-Ring Run

5/8 C-Z hyd fld tube adj, used w/hydraulic drive

1шт.

1

23049R1

WASHER

1.031 x 2.500 x .105

2шт.

2

22973R1

PIN,1" x 4 1/2"

1 x 4.500 hd type 1

1шт.

3

464327R91

STUB ASSY, turnbuckle LH

1шт.

4

464332R1

TURNBUCKLE

1шт.

5

464328R91

ROD

STUB ASSY, turnbuckle RH

1шт.

6

22964R1

HEADED PIN,1" x 2 7/16"

PIN, 1 x 2.438 hd type 1

1шт.

7

538406R1

COTTER PIN

PIN, 1/4 quick attachable cot.

2шт.

489611R92

TOOL ASSY.

PACKAGE, knife section riveting tool, consists of Ref. nos. 3, 4 and 5

1шт.

55169C91

PACKAGE

ledger plate riveting tool, consists of Ref. nos. 1 and 2

1шт.

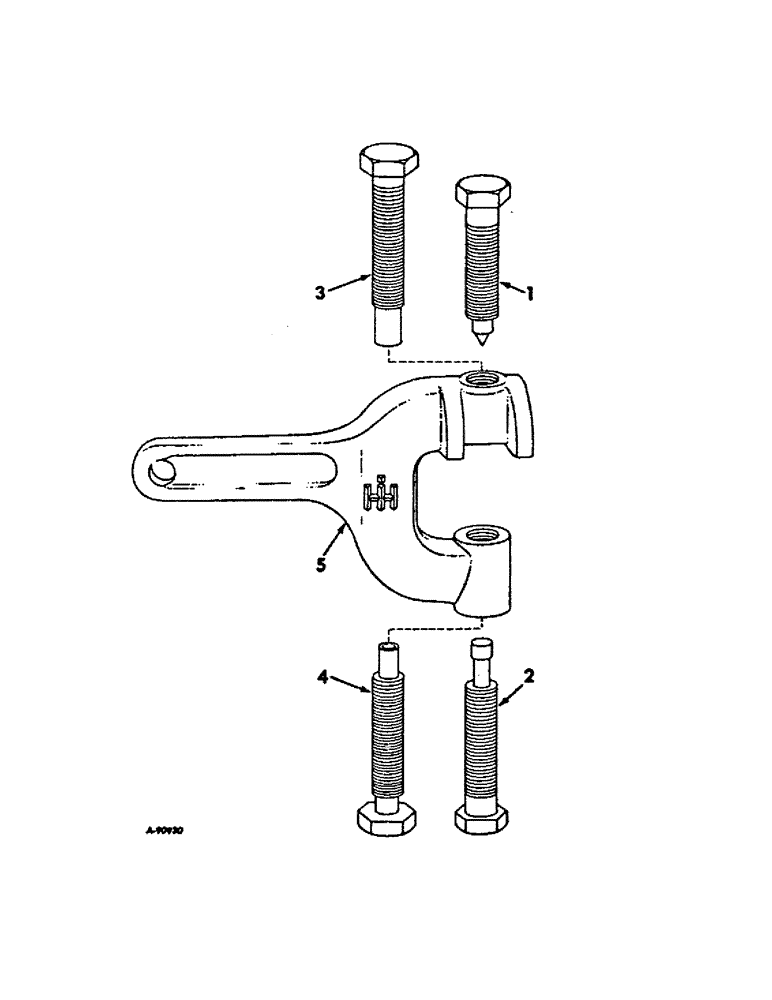
1

489617R1

TOOL

flaring

1шт.

2

489616R1

TOOL

riveting

1шт.

3

489615R2

TOOL

rivet anvil

1шт.

4

489614R2

TOOL

heading

1шт.

5

HOLDER, riveting and flaring, order 489611R92 (NSS)

1шт.

Выбрано товаров: 29