Запчасти Case IH VARIOUS (B-104) - WIRING, 1966 AND SINCE, FOR TRAILER WITH VACUUM HYDRAULIC BRAKES OR SURGE BRAKES

Схема запчастей Case IH VARIOUS - (B-104) - WIRING, 1966 AND SINCE, FOR TRAILER WITH VACUUM HYDRAULIC BRAKES OR SURGE BRAKES
FIT
1:1
100%

Артикул

Название

Примечание

Количество

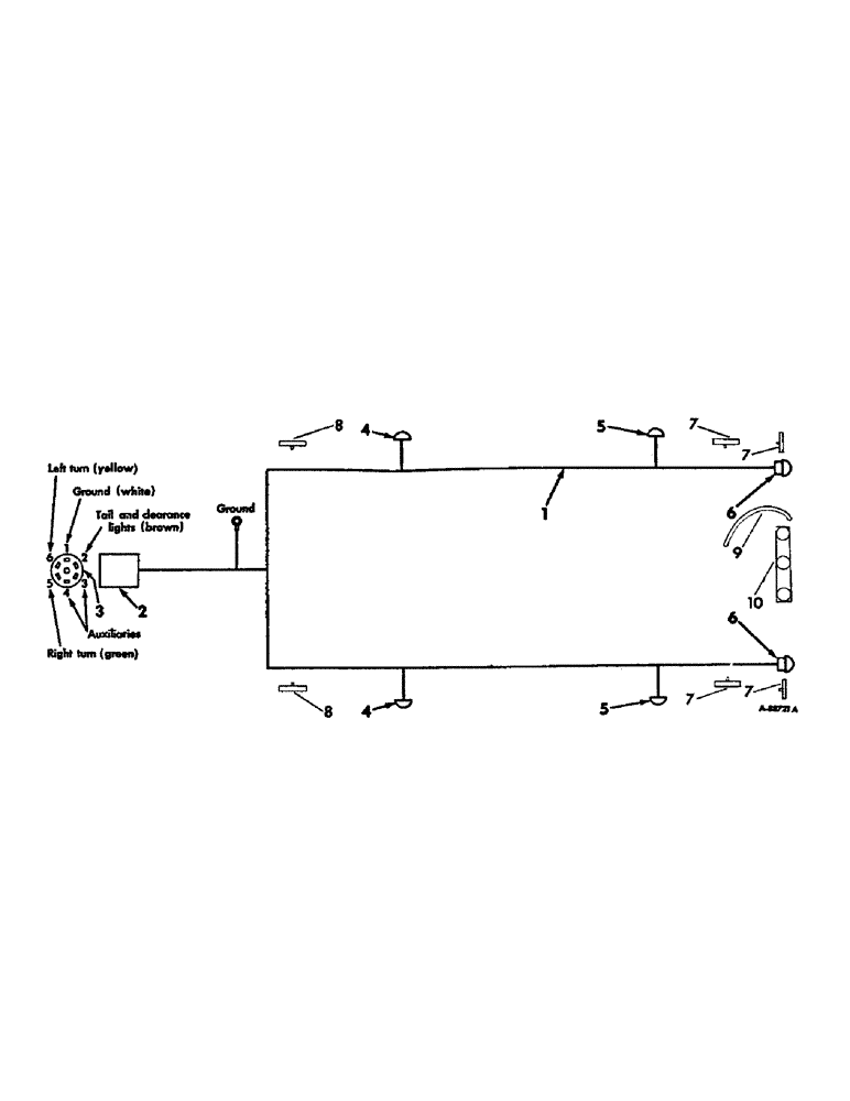
1

951913R2

HARNESS, wiring, 95 trailer

1шт.

1

951934R2

HARNES, wiring, 130 trailer

1шт.

2

960174R91

PLUG, 6 wire

1шт.

3

962106R91

SOCKET, female, on towing vehicle

1шт.

4

959371R91

LIGHT, amber clearance, front

2шт.

5

959372R91

LIGHT, red clearance, rear

2шт.

6

962350R91

TAILLIGHT, Consists of:

2шт.

964586R1

LENS

1шт.

964587R1

GASKET

1шт.

964588R1

SNAP RING

1шт.

964589R1

LICENSE WINDOW

1шт.

964590R1

WIRING PIGTAIL

1шт.

7

959337R1

REFLECTOR

red

4шт.

8

959338R1

REFLECTOR

amber

2шт.

9

964186R3

LOOM, wiring, 95 trailer

1шт.

9

964185R2

LOOM, wiring, 130 trailer

1шт.

10

959339R1

LIGHT BAR, identification

1шт.

SCREW, no. 10-24 x 5/8 mach

2шт.

WASHER, no. 10-24 lock

2шт.

NUT, no. 10-24

2шт.

959340R2

BRACKET, LH clearance light

2шт.

959341R2

BRACKET, RH clearance light

2шт.

SCREW, no. 10-24 x 5/8 mach

8шт.

WASHER, no. 10-24 lock

8шт.

NUT, no. 10-24

8шт.

959373R1

GUARD, clearance light

4шт.

960499R2

BRACKET, taillight

2шт.

BOLT, 1/4 x 5/8 crg

8шт.

NUT, 1/4

8шт.

WASHER, 1/4 lock

8шт.

962120R92

BRACKET, license plate

1шт.

962291R1

CLIP, wire

8шт.

63402H

CLIP, wire, 10 on 95, 2 on 130

1шт.

140581

CLIP

CLAMP, closed, 5 on 95, 25 on 130

1шт.

BOLT, 3/8 x 1 crg, 4 on 95, 20 on 130

1шт.

NUT, 3/8, 1 per bolt

1шт.

WASHER, 3/8 lock, 1 per bolt

1шт.

BOLT, 1/4 x 5/8 crg

1шт.

NUT, 1/4

1шт.

WASHER, 1/4 lock

1шт.

377630C1

CONNECTOR, ELEC

CONNECTOR, wire

23шт.

117966

GROMMET,5/8" ID x 1 11/64" x .188"

2 on 130

1шт.

Выбрано товаров: 42