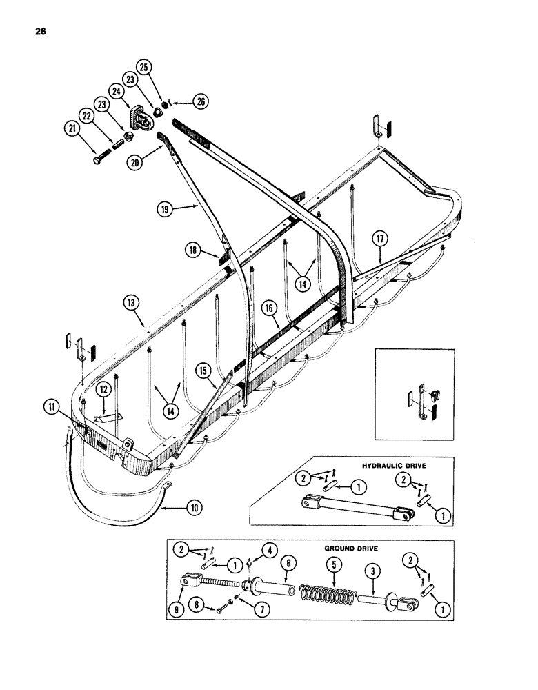
Запчасти Case IH 96 (26) - FRAME AND BASKET, 96 AND 97 RAKES

Схема запчастей Case IH 96 - (26) - FRAME AND BASKET, 96 AND 97 RAKES
FIT
1:1
100%

Артикул

Название

Примечание

Количество

1

ZA400113

PIN

- 1 inch diameter x 2-3/8 inch long

2шт.

2

432-1628

COTTER PIN,1/4" x 1 3/4"

Pin, Split (Cotter), 1/4" x 1 3/4"

4шт.

3

ZA400439

TUBE

ASSEMBLY - rear

1шт.

4

219-8

LUBE NIPPLE,1/4" - 28 NPTF

NIPPLE, LUBE, , straight 1/4"-28 NPT x .54" lg

2шт.

5

ZA400448

SPRING

- compression

1шт.

6

ZA400438

TUBE

ASSEMBLY - front

1шт.

7

1254004C1

PLUG

1шт.

8

180122

BOLT,Hex, 3/8" - 16 x 1", Gr 5

- hex, 3/8 NC x 1 inch

1шт.

9

ZA400443

ROD

ASSEMBLY - front

1шт.

10

ZA400648

BAR

- rear fender (96 Rake)

1шт.

10

ZA400649

BAR

- rear fender (97 Rake)

1шт.

24861R1

BOLT,Hex, 1/2" - 13 x 1 1/4", Gr 8

1шт.

11

1265864C1

BRACKET

- lamp (96 Rake only)

1шт.

135287

RIVET,Truss Hd, 3/16" x 9/16"

- truss head solid, 3/16 x 9/16 inch

1шт.

135331

RIVET,Truss Hd, 1/4" x 5/8"

- truss head solid, 1/4 x 9/16 inch

1шт.

12

ZA400646

BAR

BRACE - fender bar (96 Rake)

1шт.

12

ZA400647

BAR

BRACE - fender bar (97 Rake)

1шт.

180122

BOLT,Hex, 3/8" - 16 x 1", Gr 5

- hex, 3/8 NC x 1 inch

1шт.

180130

BOLT,Hex, 3/8" - 16 x 2", Gr 5

- hex, 3/8 NC x 2 inch

1шт.

13

ZA400520

FRAME

ASSEMBLY - main (96 Rake)

1шт.

13

ZA400521

FRAME

ASSEMBLY - main (97 Rake)

1шт.

14

ZA400644

BAR

- stripper (96 Rake)

9шт.

14

ZA400645

BAR

- stripper (97 Rake)

9шт.

25528R1

NUT,5/8"-11, G8

- hex, 5/8 inch NC, Grade 8

17шт.

425-1410

JAM NUT,Jam, 5/8"-11, G5

- hex jam, 5/8 inch NC

1шт.

15

ZA400181

BRACE

STRAP - brace left

1шт.

24861R1

BOLT,Hex, 1/2" - 13 x 1 1/4", Gr 8

2шт.

16

ZA400182

BRACE

STRAP - brace center

1шт.

24861R1

BOLT,Hex, 1/2" - 13 x 1 1/4", Gr 8

2шт.

17

ZA400183

BRACE

STRAP - brace right

1шт.

24861R1

BOLT,Hex, 1/2" - 13 x 1 1/4", Gr 8

2шт.

18

ZA400681

ANGLE

- support left (96 Rake)

1шт.

18

ZA400682

ANGLE

- support left (97 Rake)

1шт.

22177R1

RIVET,But Hd, 1/2" x 1"

- bottom head solid

2шт.

19

ZA400561

FRAME

ASSEMBLY - sub angle left (96 Rake)

1шт.

19

ZA400562

FRAME

ASSEMBLY - sub angle left (97 Rake)

1шт.

24861R1

BOLT,Hex, 1/2" - 13 x 1 1/4", Gr 8

3шт.

20

ZA400036

STRAP

- pivot left

1шт.

22177R1

RIVET,But Hd, 1/2" x 1"

- button head solid, 1/2 x 1 inch

2шт.

21

91186C1

BOLT,Hex, 1/2" - 13 x 2 1/2", Gr 8

- hex drilled x 2-1/2 inch, Grade 8

1шт.

22

91185C1

SPACER

- 9/16 x 1-1/4 inch long

1шт.

23

1265877C1

RUBBER BUSHING

BUSHING - rubber

2шт.

24

ZA400156

HOLDER

JAW - tilt adjusting

1шт.

25

121592

SLOTTED NUT,1/2"-13, G5

NUT - slotted hex, 1/2 inch NC

1шт.

26

103385

COTTER PIN,1/8" x 1"

PIN, SPLIT (COTTER), 1/8" x 1"

1шт.

Выбрано товаров: 45