Запчасти Case IH 225 (A-3) - CHASSIS, RADIATOR AND SHEET METAL, CASTER WHEEL HUB AND AXLE Chassis, Radiator & Sheet Metal

Схема запчастей Case IH 225 - (A-3) - CHASSIS, RADIATOR AND SHEET METAL, CASTER WHEEL HUB AND AXLE Chassis, Radiator & Sheet Metal
FIT
1:1
100%

Артикул

Название

Примечание

Количество

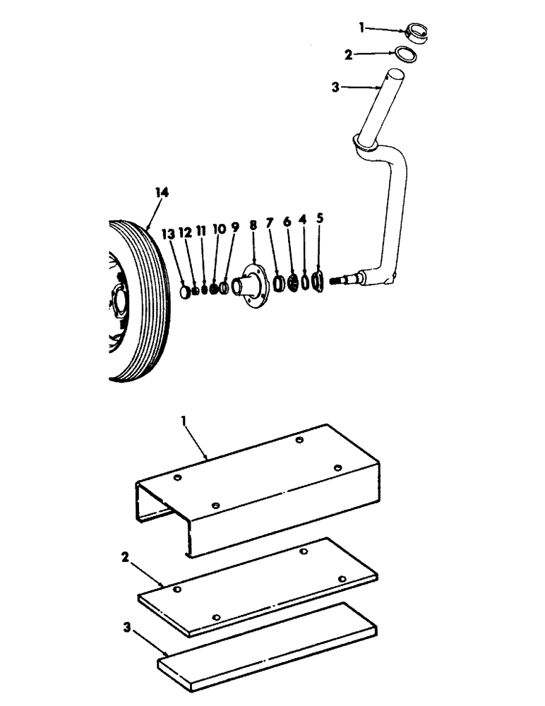
1

619930R1

BUSHING

caster axle retainer

1шт.

.

19525R1

PIN,3/8" x 2 3/4", Coiled

1шт.

2

21719R1

WASHER

2-1/32 x 2-3/4 x 11 ga (Use as req'd)

2шт.

3

599281R11

AXLE ASSY, Composed of

1шт.

.

AXLE

1шт.

.

427640

SLOTTED NUT,3/4"-16, G5

NUT

1шт.

.

467750R1

WASHER

1шт.

.

103396

PIN, SPLIT (COTTER),5/32" x 1"

5/32" x 1"

1шт.

4

472221R91

SEAL,39.57mm ID x 58.6mm OD x 7.37mm Thk

axle spindle oil

1шт.

5

472222R1

SLEEVE

axle spindle oil seal wear

1шт.

6

651818R91

ROLLER BEARING,31.77 mm ID x 16.08 mm

CONE, wheel inner bearing

1шт.

7

651817R1

BEARING CUP

CUP, wheel hub inner

1шт.

7

651817R1GV

BEARING CUP

Value, Bearing Cup

1шт.

8

591535R1

HUB

wheel

1шт.

.

351079R1

BOLT,Hex Counter Shank, 1/2" - 20 x 23/32"

WHEEL BOLT

4шт.

9

651814R1

BEARING CUP

CUP, wheel hub outer bearing

1шт.

10

651815R91

BEARING ASSY,7.508" ID x 17.82" OD x 6"

CONE, wheel hub outer bearing

1шт.

10

651815R91GV

BEARING CONE

Value, Cone Bearing

1шт.

11

467750R1

WASHER

25/32 x 1-1/2 x 11 ga

1шт.

12

427640

SLOTTED NUT,3/4"-16, G5

NUT, 3/4" hex slotted

1шт.

.

103396

PIN, SPLIT (COTTER),5/32" x 1"

5/32" x 1"

1шт.

13

602959R1

PLUG

CAP, wheel hub

1шт.

14

WHEEL ASSY, caster tail (For service parts refer to "wheels" section L)

1шт.

1

592192R2

SHIELD, counterweight

1шт.

2

592190R2

PLATE, counterweight top and bottom

3шт.

.

593356R1

3/4 X 10-3/4" BOLT

4шт.

.

280954

NUT,3/4"-10, G5

4шт.

.

87340

LOCK WASHER,Helical Spring, 0.759" ID, CST, ZND

WASHER, LOCK, 3/4"

4шт.

3

592194R2

BAR, counterweight

3шт.

Выбрано товаров: 29