Запчасти Case IH 742 (76) - BAT REEL

Схема запчастей Case IH 742 - (76) - BAT REEL
FIT
1:1
100%

Артикул

Название

Примечание

Количество

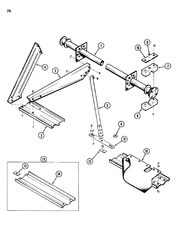
1

90967C1

SHAFT

- reel (21 foot front unit)

1шт.

1

1276526C1

SHAFT

- reel (25 foot front unit)

1шт.

1

91052C1

SHAFT

- reel (21 foot rear unit)

1шт.

1

1276528C1

SHAFT

- reel (25 foot rear unit)

1шт.

2

1276529C1

ARM

- reel

1шт.

c

482256R1

BEARING LOCK NUT,Flg, USR, 3/8"-16

- serrated flange lock, 3/8 inch NC

1шт.

k

541313R1

BOLT,Hex Serr Flg, 3/8" - 16 x 3/4"

- flange head, 3/8 NC x 3/4 inch

1шт.

3

1960429C1

BAT

- reel (21 foot front unit)

5шт.

3

1336601C1

BAT

- reel (25 foot front unit)

5шт.

3

1960404C1

BAT

- reel (21 foot rear unit)

5шт.

3

1960403C1

BAT

- reel (25 foot rear unit)

5шт.

a

938017R1

FLANGE NUT,Flg, USR, 5/16"-18

- serrated flange lock, 5/16 inch NC

1шт.

j

174856C1

BOLT,Hex Serr, 5/16" - 18 x 1/2"

- flange head, 5/16 NC x 1/2 inch

1шт.

4

825976C2

GUARD

SHIELD - end

20шт.

a

938017R1

FLANGE NUT,Flg, USR, 5/16"-18

- serrated flange lock, 5/16 inch NC

35шт.

j

174856C1

BOLT,Hex Serr, 5/16" - 18 x 1/2"

- glange head, 5/16 NC x 1/2 inch

35шт.

5

1960341C1

BRACE

- reel

20шт.

b

154273C1

BOLT,Hex Serr, 3/8" - 16 x 1", Spcl

- flange head, 3/8 NC x 1 inch

20шт.

c

482256R1

BEARING LOCK NUT,Flg, USR, 3/8"-16

- serrated flange lock, 3/8 inch NC

20шт.

6

20803R1

WASHER

- flat (prior to P.I.N. 2280)

20шт.

7

1276522C1

BLOCK

WOODEN BEARING - upper, reel shaft

4шт.

8

1276523C1

BLOCK

WOODEN BEARING - lower, reel shaft

4шт.

9

126098

FITTING

- lube

4шт.

10

1276524C1

CAP

- bearing (includes lube fitting)

4шт.

d

27124R1

BOLT,Short NK, 3/8"-16 x 4", G5

- round head square neck, 3/8 NC x 4 inch

8шт.

e

9413953

LOCK NUT,3/8"-16, GB

NUT - lock, 3/8 inch NC distorted thread

8шт.

11

1960402C1

STRAP

- brace

20шт.

a

938017R1

FLANGE NUT,Flg, USR, 5/16"-18

- serrated flange lock, 5/16 inch NC

60шт.

g

202107C1

BOLT,Hex Serr Flg, 5/16" - 18 x 3/4"

- flange head, 5/16 NC x 3/4 inch

20шт.

j

174856C1

BOLT,Hex Serr, 5/16" - 18 x 1/2"

- flange head, 5/16 NC x 1/2 inch

40шт.

12

823248C1

BAR

WASHER - rectangular

20шт.

13

1337154C1

KIT

REPAIR KIT - reel bat, includes items 14 (1) and 12 (4)

1шт.

14

NSS

NOT SOLD SEPARAT

BAT - repair piece, 45-1/2 inch

1шт.

15

1276525C1

FLAP

- rubber (rear unit only)

5шт.

g

202107C1

BOLT,Hex Serr Flg, 5/16" - 18 x 3/4"

- flange head, 5/16 NC x 3/4 inch

25шт.

h

120393

BEARING WASHER,5/16", SAE

WASHER - flat, 11/32 inch ID

25шт.

f

9413952

LOCK NUT,5/16"-18, GB

NUT - lock, 5/16 inch NC distorted thread

25шт.

Выбрано товаров: 37