Запчасти Case IH 75 (A-25) - HYDRAULIC PUMP

Схема запчастей Case IH 75 - (A-25) - HYDRAULIC PUMP
FIT
1:1
100%

Артикул

Название

Примечание

Количество

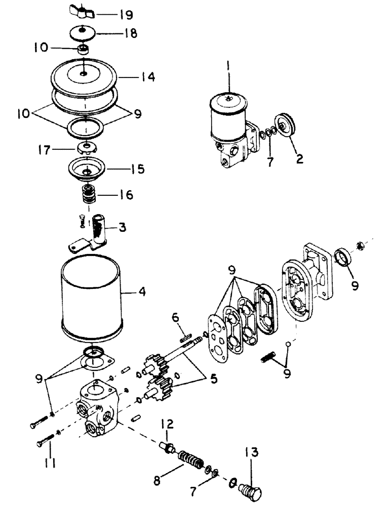
1

825954C91

PUMP ASSY, hydraulic w/reservoir

1шт.

2

825894C1

PULLEY

pump drive

1шт.

3

668398R91

FILTER

ASSY, oil

1шт.

4

823147C1

TANK ASSY, reservoir, Replaces tank, 826016C1 by also ordering spring, 823148C1

1шт.

27675R1

SCREW, 5/16 x 5.00 phc ast 12pt flg

3шт.

309161R1

WASHER, 5/16 dyna-seal

3шт.

5

SHAFT & GEAR ASSEMBLY, Not serviced separately, Order pump assy., 825954C91

1шт.

232-4615

LOCK NUT,5/16"-24, GC

NUT, 5/16-NF cad p/t lock type 5, on pump shaft

1шт.

6

827389C1

KEY

pump shaft

1шт.

7

394655R1

WASHER

shim, (Or as required)

6шт.

8

673751R1

SPRING

relief valve

1шт.

9

826015C91

KIT

pump seal service, Consists of

1шт.

668400R1

FILTER

air

1шт.

668399R1

GASKET

reservoir

1шт.

375269R1

O-RING,0.103" Thk x 1.487" ID, -128, Cl 5, 75 Duro

1.500 x 1.688 x .094

1шт.

668403R1

WASHER

WASHER, 17/64 x 31/64 x .050 AL

2шт.

3067183R1

O-RING,0.103" Thk x 0.424" ID, -11, Cl 6, 90 Duro

7/16 x 5/8 class 6

1шт.

DIAPHRAGM, (NSS)

1шт.

SEAL, diaphragm, (NSS)

1шт.

GASKET, protector, (NSS)

1шт.

GASKET, back-up, (NSS)

1шт.

SPRING, check, (NSS)

2шт.

BALL, 3/16 grade 25 metal, (NSS)

2шт.

SEAL, pump shaft oil, (NSS)

1шт.

10

826017C91

KIT, reservoir gasket service, Consists of

1шт.

668400R1

FILTER

air

1шт.

668402R1

GASKET, filter retainer

1шт.

668397R1

GASKET

reservoir lid

1шт.

11

28436R1

SCREW, 1/4 x 2.500 phc ast 12pt flg

4шт.

12

152776C1

VALVE POPPET

POPPET, relief valve

1шт.

13

826014C1

PLUG, relief valve

1шт.

14

668393R11

COVER

LID W/GASKET, 668397R1, reservoir tank

1шт.

15

668395R11

FILTER

RETAINER W/GASKET, 668402R1, filter

1шт.

16

668401R1

SPRING

filter, Used w/tank, 826016C1

1шт.

16

823148C1

SPRING

filter, Used w/tank, 823147C1

1шт.

17

668396R1

CAP

filter

1шт.

18

668394R1

CAP

breather

1шт.

19

129-409

WING NUT,1/4"-20

NUT, WING, 1/4"-20

1шт.

Выбрано товаров: 38