Запчасти Case IH 750 (06) - HYDRAULICS, FRONT UNIT

Схема запчастей Case IH 750 - (06) - HYDRAULICS, FRONT UNIT
FIT
1:1
100%

Артикул

Название

Примечание

Количество

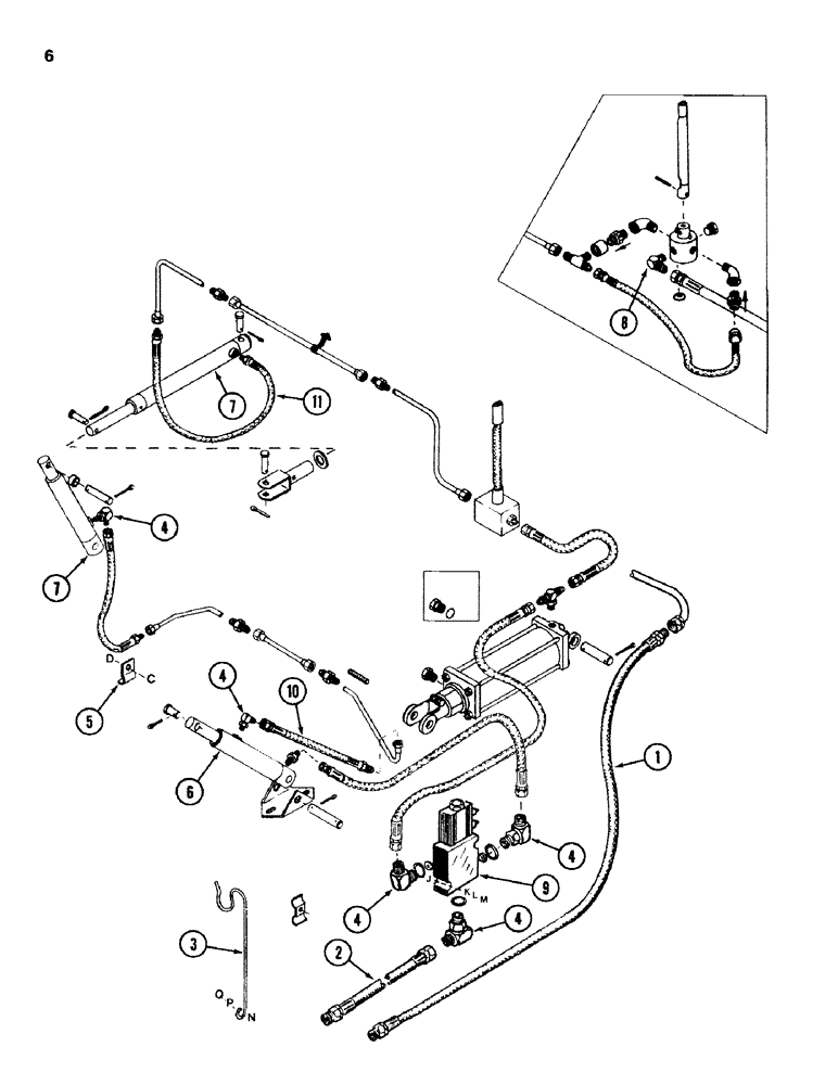
1

1276775C1

HOSE

ASSEMBLY - tractor to hydraulic line

1шт.

2

1276736C1

HYDRAULIC HOSE,9.52 mm ID x 5430.00 mm

- Tractor to solenoid valve 9.52 mm ID x 5430.00 mm

1шт.

3

1276738C1

SUPPORT

- hose

1шт.

n

180175

BOLT,Hex, 1/2" - 13 x 1 1/4", Gr 5

- hex, 1/2 NC x 1-1/4 inch

1шт.

p

495-11053

WASHER,1/2", SAE

- flat, 17/32 inch ID

1шт.

q

9413956

LOCK NUT,1/2"-13, GB

NUT - lock, 1/2 inch NC distorted thread

1шт.

4

9410976

ELBOW,90 Degree, 9/16"-18, 37 Degree x 9/16"-18, O-Ring

- male, 90 degree (P.I.N. 516 and after) (see note)

5шт.

364839R1

O-RING,0.078" Thk x 0.468" ID, -906, Cl 6, 90 Duro

6-1, 90 Duro, .468" ID x .078" Thk, elbow

5шт.

5

1276740C1

CLAMP

- hose, single

3шт.

c

495967R1

CARRIAGE BOLT,Short NK, 3/8"-16 x 1", G5, Full Thd

BOLT - round head square neck, 3/8 NC x 1 inch

3шт.

d

9413953

LOCK NUT,3/8"-16, GB

NUT - lock, 3/8 inch NC distorted thread

3шт.

6

1336868C1

CYLINDER

- master, reel lift (round port blocks) (Prior to P.I.N. 516)

1шт.

6

1276741C1

CYLINDER

- master, reel lift (rectangular port blocks) (P.I.N. 516 and after)

1шт.

6

1337009C1

CYLINDER ASSY.

CYLINDER - master, reel lift (round port blocks) (P.I.N. 516 and after)

1шт.

823143C91

SEAL KIT

KIT - for master reel lift cylinders 1336868C1 and 1337009C1

1шт.

1281388C1

SEAL KIT

KIT - for master reel lift cylinder 1276741C1

1шт.

7

1336869C1

CYLINDER

- single acting (prior to P.I.N. 516)

2шт.

7

1337004C1

HYDRAULIC CYLINDER,25.4mm Rod, 250mm Stroke

- single acting (P.I.N. 516 and after)

2шт.

823144C91

SEAL KIT

SEAL KIT - for single acting cylinder (prior to P.I.N. 516 or P.I.N. 516 and after if measurement from top of barrel to bleed screw is 13/16 inch (20 mm)

1шт.

1281387C1

SEAL

KIT - for single acting cylinder (P.I.N. 516 and after if measurement from top of barrel to bleed screw is 3 inches (74 mm)

1шт.

8

9402864

ELBOW,90 Degree, 9/16"-18, 37 Degree x 1/4"-18, NPTF

- male, 90 degree (prior to P.I.N. 2280) (2 required prior to P.I.N. 516)

1шт.

9

1276767C1

VALVE

- solenoid, Manufacturer: Modular Controls

1шт.

1276773C1

COIL

- for Modular Controls Valve 1276767C1

1шт.

1276774C1

KIT

SEAL KIT - for Modular Controls Valve 1276767C1

1шт.

9

95631C1

VALVE

- solenoid, Manufacturer: Waterman (alternate)

1шт.

j

180044

SPRING

- hex, 1/4 NC x 2 inch

2шт.

k

120392

WASHER,1/4", SAE

- flat, 9/32 inch ID

2шт.

l

492-11025

LOCK WASHER,1/4"

WASHER, LOCK, 1/4"

2шт.

m

120375

NUT,Hex, 1/4" - 20, Gr 5

2шт.

10

825934C91

HYDRAULIC HOSE

HOSE ASSEMBLY - cylinder to line (prior to P.I.N. 516)

1шт.

10

1276684C1

HOSE

ASSEMBLY - cylinder to line (P.I.N. 516 and after)

1шт.

11

825934C91

HYDRAULIC HOSE

HOSE ASSEMBLY - to cylinder (prior to P.I.N. 516)

1шт.

11

1276745C1

HOSE

ASSEMBLY - to cylinder (P.I.N. 516 and after)

1шт.

Выбрано товаров: 33