Запчасти Case IH 750 (10) - HYDRAULICS, FRONT UNIT

Схема запчастей Case IH 750 - (10) - HYDRAULICS, FRONT UNIT
FIT
1:1
100%

Артикул

Название

Примечание

Количество

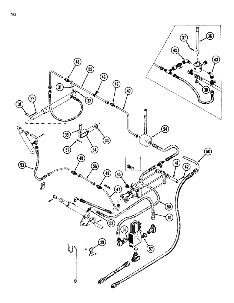
31

22092R1

PIN

- clevis, 5/8 x 2-1/4 inch

2шт.

32

103387

COTTER PIN,1/8" x 1 1/2"

Pin, Split (Cotter), 1/8" x 1 1/2"

3шт.

33

496-21106

WASHER,1 1/16" x 2" x .209", HDN

- flat, 1-1/16 inch ID

7шт.

34

1276761C1

CLEVIS

- cylinder

1шт.

35

22909R1

HEADED PIN,3/4" x 3"

PIN - clevis, 3/4 x 2-1/2 inch

1шт.

36

1281395C1

HOSE

ASSEMBLY - (prior to P.I.N. 2280) (prior to P.I.N. 516 also order 1276494C1 handle, page 27)

1шт.

37

576483R1

LOCK PIN,5/16" x 1 1/2", Slotted

Pin, (prior to P.I.N. 2280) 5/16" x 1 1/2", Slotted

1шт.

38

80706C1

WASHER

- dished (prior to P.I.N. 2280)

2шт.

39

1276765C1

CLAMP

- hose, double

2шт.

g

202107C1

BOLT,Hex Serr Flg, 5/16" - 18 x 3/4"

- flange head, 5/16 NC x 3/4 inch

2шт.

h

938017R1

FLANGE NUT,Flg, USR, 5/16"-18

- serrated flange lock, 5/16 inch NC

2шт.

40

1276770C1

HOSE

ASSEMBLY - solenoid valve to reel lift cylinder

1шт.

41

1276449C1

PIN

- cylinder

2шт.

42

32-1632

COTTER PIN,1/4" x 2"

PIN, SPLIT (COTTER), 1/4" x 2"

4шт.

43

105423

ELBOW,90 Degree, 1/4" NPT Street

- 90 degree street (prior to P.I.N. 2280) (2 required prior to P.I.N. 516)

1шт.

45

1337119C1

PLUG

BREATHER - cylinder (P.I.N. 516 and after)

1шт.

46

1337509C1

CLIP

- nylon, for 1/4 inch OD tube (P.I.N. 2280 and after)

1шт.

47

1960330C1

TUBE,6.4 mm OD

ASSEMBLY - from left reel cylinder, front unit (P.I.N. 2280 and after)

1шт.

47

1960335C1

TUBE,6.4 mm OD

ASSEMBLY - from left reel cylinder, rear unit (P.I.N. 2280 and after)

1шт.

47

80718C1

REEL

TUBE ASSEMBLY - from left reel cylinder, front unit (prior to P.I.N. 2280) (see note)

1шт.

47

80709C1

TUBE

ASSEMBLY - from left reel cylinder, rear unit (prior to P.I.N. 2280) (see note)

1шт.

48

9402784

UNION,7/16"-20, 37 Degree x 7/16"-20, 37 Degree

- 1/4 tube (3 required for 21 foot)

4шт.

49

1960338C1

HYD TUBE,6.4 mm OD

TUBE ASSEMBLY - from valve (P.I.N. 2280 and after)

1шт.

49

80719C1

TUBE,6.35 mm OD, 566, 220 mm Length

ASSEMBLY - from valve (prior to P.I.N. 2280) (prior to P.I.N. 516 also order ref. 30 and 48)

1шт.

50

1276769C1

HOSE

ASSEMBLY - solenoid valve to header lift cylinder

1шт.

51

103398

COTTER PIN,5/32" x 1 1/2"

Pin, Split (Cotter), 5/32" x 1 1/2"

1шт.

52

9410202

HYD CONNECTOR,9/16"-18, 37 Degree x 9/16"-18, O-Ring

CONNECTOR - male (P.I.N. 736 and after)

1шт.

53

825934C91

HYDRAULIC HOSE

HOSE ASSEMBLY - to cylinder (prior to P.I.N. 516)

1шт.

53

1276745C1

HOSE

ASSEMBLY - to cylinder (P.I.N., Serial Range: 516-735)

1шт.

53

1276684C1

HOSE

ASSEMBLY - to cylinder (P.I.N. 736 and after)

1шт.

54

REF

INSTRUCTION

VALVE - selector (P.I.N. 2280 and after) (see page 21)

1шт.

55

1960334C1

TUBE,6.4 mm OD

ASSEMBLY - connector, right wheel (21 foot front) (P.I.N. 2280 and after)

1шт.

55

1960332C1

TUBE,6.4 mm OD

ASSEMBLY - connector, right wheel (25 foot front and rear) (P.I.N. 2280 and after)

1шт.

55

1960336C1

TUBE,6.4 mm OD

ASSEMBLY - connector, right wheel (21 foot rear) (P.I.N. 2280 and after)

1шт.

56

1960333C1

TUBE,6.4 mm OD

ASSEMBLY - connector, reel line (25 foot front unit only) (P.I.N. 2280 and after)

1шт.

56

1960337C1

TUBE,6.4 mm OD

ASSEMBLY - connector, reel line (25 foot rear unit only) (P.I.N. 2280 and after)

1шт.

57

826031C1

RESTRICTOR

PLATE - orifice, 0.052 inch diameter

2шт.

58

90992C1

TUBE,.375" OD

ASSEMBLY - to rear unit solenoid valve (21 foot front unit)

1шт.

58

1276771C1

TUBE,9.53 mm OD

ASSEMBLY - to rear unit solenoid valve (25 foot front unit)

1шт.

Выбрано товаров: 39