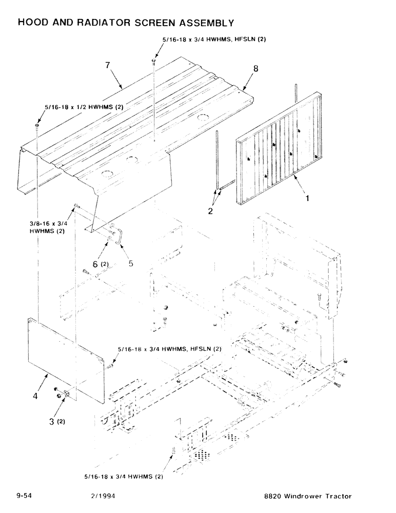
Запчасти Case IH 8820 (9-54) - HOOD AND RADIATOR SCREEN ASSEMBLY (09) - CHASSIS/ATTACHMENTS

Схема запчастей Case IH 8820 - (9-54) - HOOD AND RADIATOR SCREEN ASSEMBLY (09) - CHASSIS/ATTACHMENTS
5
1
2
7
3
6
4
8
FIT
1:1
100%

Артикул

Название

Примечание

Количество

1

700116840

SCREEN

1шт.

2

700709973

DOOR SEAL

Weather Stripping (15 Foot Bulk)

1шт.

3

700116856

ANGLE

2шт.

4

700111879

ROOF

Bulkhead - Front

1шт.

5

325621

HANDLE

1шт.

6

80702

WASHER,0.44" ID x 1" OD x 0.08" Thk

3/8 Hardened Plain Washer

2шт.

7

700121033

HOOD

- Half, Right

1шт.

8

700116831

HOOD

- Half, Left

1шт.

7883317

SCREW,Hex Washer, 5/16" - 18 x 1/2"

5/16-18 x 1/2 HWHMS

3шт.

7883325

BOLT,Hex, 5/16" - 18 x 3/4", Gr 120M

5/16-18 x 3/4 HWHMS

26шт.

7883374

SCREW,Hex Washer, 3/8" - 16 x 3/4"

3/8-16 x 3/4 HWHMS

2шт.

231-5145

SERRATED NUT,Flg, USR, 5/16"-18

5/16-18 HFSLN

20шт.

Выбрано товаров: 12