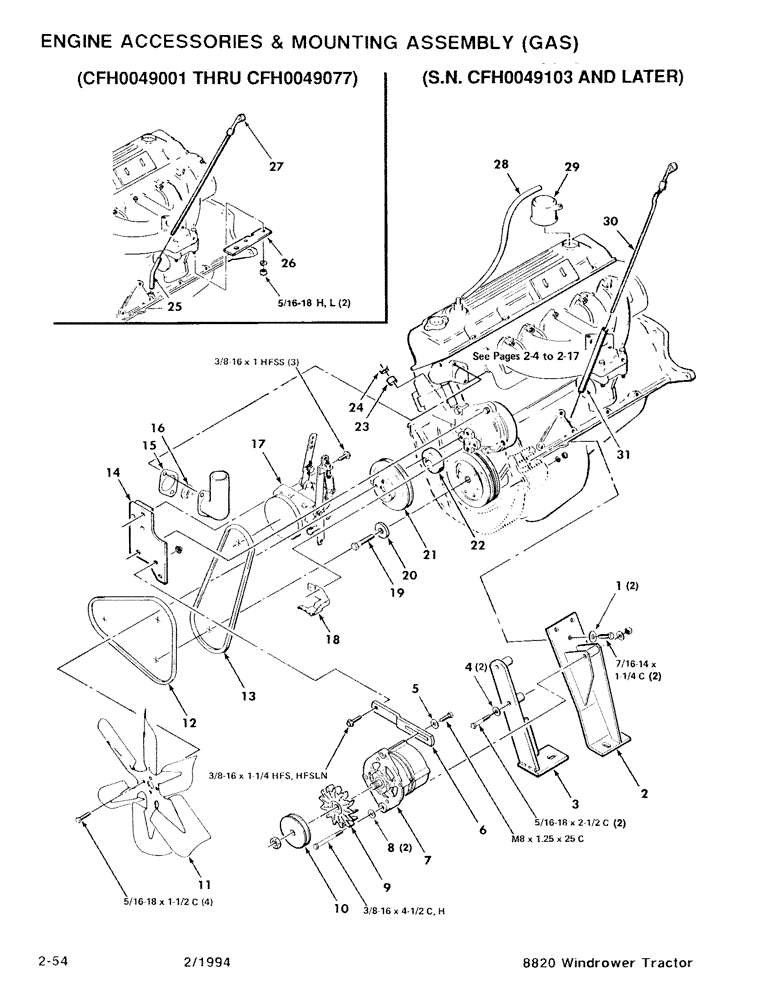
Запчасти Case IH 8820 (2-54) - ENGINE ACCESSORIES & MOUNTING ASSEMBLY, GAS (02) - ENGINE

Схема запчастей Case IH 8820 - (2-54) - ENGINE ACCESSORIES & MOUNTING ASSEMBLY, GAS (02) - ENGINE
29
24
25
31
6
4
2
20
26
4
27
14
17
12
6
15
0
23
3
21
26
16
3
19
22
10
13
5
11
1
18
FIT
1:1
100%

Артикул

Название

Примечание

Количество

1

705558

WASHER

7/16 Hardened Plain Washer

2шт.

2

700120737

SUPPORT

Mounting - Engine

1шт.

3

6605158

MOUNTING PARTS

Mounting - Engine

1шт.

4

705525

WASHER

5/16 Hardened Plain Washer

2шт.

5

1703321

WASHER,M8 x 16 x 1.6

M8 Plain Washer

1шт.

6

6605141

STRAP

- Tightener, Belt

1шт.

7

700710688

ALTERNATOR

1шт.

8

80702

WASHER,0.44" ID x 1" OD x 0.08" Thk

3/8 Hardened Plain Washer

2шт.

9

700708240

FAN

- Alternator

1шт.

10

700710762

PULLEY

Sheave

1шт.

11

NLS

NO LONGER SERVICED

Fan - Radiator

1шт.

12

855510

V-BELT

Fan

1шт.

13

857029

V-BELT

Governor

1шт.

14

6605257

MOUNTING PARTS

Mounting

1шт.

15

844936

GASKET

1шт.

16

7898059

THERMOSTAT

1шт.

17

7025596

GOVERNOR

Assembly

1шт.

18

8025181

INDICATOR

- Timing

1шт.

19

873893

HARDWARE

3/4-16 x 1.88 C

1шт.

20

6808679

WASHER

1шт.

21

8021461

PULLEY

Sheave - Water Pump

1шт.

22

8021438

SPACER

1шт.

23

8025199

CAP

- Rubber

1шт.

24

8025207

CLAMP

- Hose

1шт.

25

8025215

TUBE

- Oil Level (S.N. CFH0049001 thru CFH0049077)

1шт.

26

6511646

DIPSTICK

Bracket (S.N. CFH0049001 thru CFH0049077)

1шт.

27

7724024

LEVEL

Indicator - Oil Level (S.N. CFH0049001 thru CFH0049077)

1шт.

28

6454375

FUEL HOSE,0.31" ID x 17.00", SAE 30R1

0.31" ID x 17.00", SAE 30R1

1шт.

29

7724149

AIR CLEANER

Cleaner - Air

1шт.

30

700712476

GAUGE

Indicator - Oil Lever (S.N. CFH0049103 and Later)

1шт.

31

700712491

TUBE

(S.N. CFH0049103 and Later)

1шт.

7772197

SCREW,Hex, M8 x 1.25 x 25mm, Cl 8.8

M8 x 1.25 x 25 C

1шт.

7701717

BOLT,Hex, 5/16" - 18 x 1 1/2", Gr 5

5/16-18 x 1-1/2 C

4шт.

7703945

BOLT,Hex, 5/16" - 18 x 2 1/2", Gr 5

5/16-18 x 2-1/2 C

2шт.

701714

BOLT,Hex, 3/8" - 16 x 4 1/2", Gr 5

3/8-16 x 4-1/2 C

1шт.

7702202

BOLT,Hex, 7/16" - 14 x 1 1/4", Gr 5

7/16-14 x 1-1/4 C

2шт.

7703424

FLANGE BOLT,Hex, Serr, 3/8" - 16 x 1"

3/8-16 x 1 HFSS

3шт.

7883408

BOLT,Hex, 3/8" - 16 x 1 1/4", Gr 8

3/8-16 x 1-1/4 HFS

1шт.

704015

NUT,5/16"-18, G5

5/16-18 H

2шт.

704023

NUT,3/8"-16, G5

3/8-16 H

1шт.

704247

NUT

3/8-16 HFSLN

1шт.

705020

LOCK WASHER

5/16"

2шт.

Выбрано товаров: 0