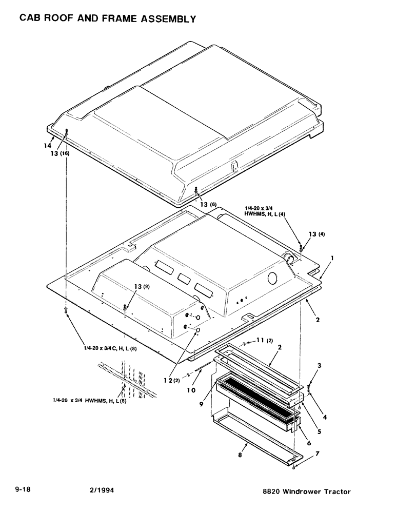
Запчасти Case IH 8820 (9-18) - CAB ROOF AND FRAME ASSEMBLY (09) - CHASSIS/ATTACHMENTS

Схема запчастей Case IH 8820 - (9-18) - CAB ROOF AND FRAME ASSEMBLY (09) - CHASSIS/ATTACHMENTS
14
13
1
11
9
1
2
13
2
6
7
4
13
12
5
13
3
10
8
FIT
1:1
100%

Артикул

Название

Примечание

Количество

1

700110113

ROOF LINING

Headliner - Top

1шт.

2

6805055

SEAL

- Strip (20 Foot Bulk)

1шт.

3

7894975

CLIP

1шт.

4

7758212

SPRING

1шт.

5

700116911

PANEL

- Filter

1шт.

6

8022345

FILTER

1шт.

7

7894967

HANDLE

1шт.

8

700116912

LID

- Filter

1шт.

9

8022501

SEAL

- Filter

1шт.

10

700116914

PIN

- Hinge

1шт.

11

700707858

SNAP RING

Retainer - Ring

2шт.

12

700708527

PLUG

- Hole

2шт.

13

700709601

WASHER,1/4"

1/4 Wide Plain Washer

34шт.

14

700117559

CAP

Top Cap

1шт.

ref 14--p/n for foam is 700705148 jjs 10-3-97

1шт.

7703457

HYD CONNECTOR,Hex, 1/4" - 20 x 3/4", Gr 5

1/4-20 x 3/4 C

8шт.

7883275

SCREW,Hex Washer, 1/4" - 20 x 3/4"

1/4-20 x 3/4 HWHMS

12шт.

704007

NUT,1/4"-20, G5

1/4-20 H

20шт.

705012

LOCK WASHER

1/4"

20шт.

Выбрано товаров: 0