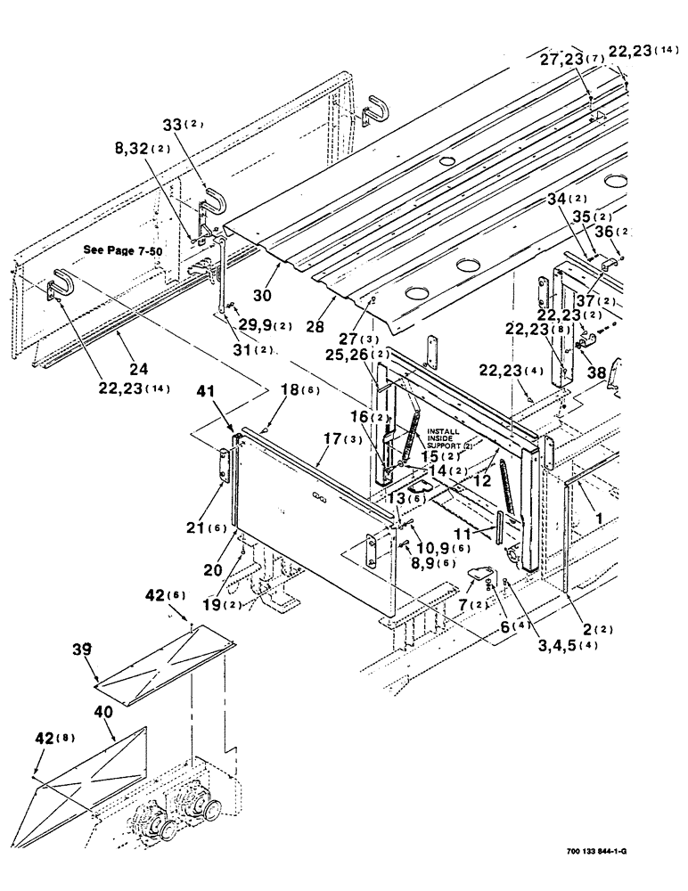
Запчасти Case IH 8825HP (07-46) - REAR STYLING AND SHIELD ASSEMBLY (09) - CHASSIS

Схема запчастей Case IH 8825HP - (07-46) - REAR STYLING AND SHIELD ASSEMBLY (09) - CHASSIS
4
17
20
42
27
2
23
35
5
30
13
37
41
22
23
34
10
39
19
28
8
14
29
11
18
23
3
31
40
9
21
16
23
42
6
7
38
9
15
36
33
23
8
24
27
22
12
25
26
22
1
32
22
22
9
23
FIT
1:1
100%

Артикул

Название

Примечание

Количество

1

700111917

RUBBER WEATHERSTRIP

WEATHER STRIPPING

1шт.

2

700111916

RUBBER WEATHERSTRIP

WEATHER STRIPPING

2шт.

3

111-237

CARRIAGE BOLT,Short NK, 5/16"-18 x 1", G5

BOLT, CARRIAGE, Short NK, 5/16"-18 x 1", G5

4шт.

4

425-105

NUT,5/16"-18, G5

4шт.

5

492-11031

LOCK WASHER,5/16"

WASHER, LOCK, 5/16"

4шт.

6

496-21034

WASHER,11/32" x 11/16" x 0.89", HDN

4шт.

7

700111910

STOP

- latch

2шт.

8

413-612

BOLT,Hex, 3/8" - 16 x 3/4", Gr 5

8шт.

9

492-11038

LOCK WASHER,3/8"

14шт.

10

413-616

BOLT,Hex, 3/8" - 16 x 1", Gr 5

6шт.

11

6511695

GROMMET

1шт.

12

700111882

SUPPORT

WA - center

1шт.

13

496-11041

WASHER,13/32" x 13/16" x .065", HDN

3/8 HARDENED PLAIN WASHER

6шт.

14

705541

WASHER,0.53" ID x 1.06" OD x 0.14" Thk

1/2 HARDENED PLAIN WASHER

2шт.

15

700705629

SPRING

- extension

2шт.

16

700705676

SCREW

1/2 X 1 X 3/8-16 HSHSS SPL

2шт.

17

700115460

SEAL

3шт.

18

121-126

STEP BOLT,Hex Skt, 5/16" - 18 - 3/8" x 3/8"

SCREW, Hex Soc Hd, Shdr, 5/16"-18 x 3/8"

6шт.

19

409-7612

BOLT,3/8"-16 x 1.09" OAL

3/8-16 X 3/4 HWHMS

2шт.

20

700111879

ROOF

BULKHEAD WA - front

1шт.

21

700111908

BAR PLATE

PLATE ASSEMBLY - hinge

6шт.

22

121-115

SERRATED BOLT,Hex, 5/16" - 18 x 3/4"

42шт.

23

231-5145

SERRATED NUT,Flg, USR, 5/16"-18

NUT, Flg, USR, 5/16"-18

49шт.

24

700133886

STRIPPER

WEATHER STRIPPING - right

1шт.

25

413-648

BOLT,Hex, 3/8" - 16 x 3", Gr 5

2шт.

26

231-5146

FLANGE NUT,3/8"-16

2шт.

27

256873

BOLT,Hex Serr, 5/16" - 18 x 1/2", 5SPL, Full Thd

11шт.

28

700115578

ENGINE HOOD

HOOD - half, left

1шт.

29

425-106

NUT,3/8"-16, Cl 5

2шт.

30

700133887

HOOD

- half, right

1шт.

31

700111894

TIE-ROD

PIPE WA - brace

2шт.

32

230-4216

LOCK NUT,3/8"-16, GA

3/8-16 HCLN

2шт.

33

700111897

HINGE

WA

2шт.

34

7894975

CLIP

- latch

2шт.

35

7758212

SPRING

- compression

2шт.

36

7894967

HANDLE

- latch

2шт.

37

700111911

BAR PLATE

STRAP

2шт.

38

700115973

SPACER

1шт.

39

700133890

SHIELD

- top

1шт.

40

700133891

SHIELD

- side, right

1шт.

41

700133929

STRIP

WEATHER STRIPPING

1шт.

42

7883366

SCREW,Hex Washer, 3/8" - 16 x 1/2"

3/8-16 X 1/2 HWHMS

14шт.

Выбрано товаров: 42