Запчасти Case IH 8825HP (09-06) - DECAL LOCATION DIAGRAM, REAR (09) - CHASSIS

Схема запчастей Case IH 8825HP - (09-06) - DECAL LOCATION DIAGRAM, REAR (09) - CHASSIS
5
3
8
6
7
4
1
9
2
FIT
1:1
100%

Артикул

Название

Примечание

Количество

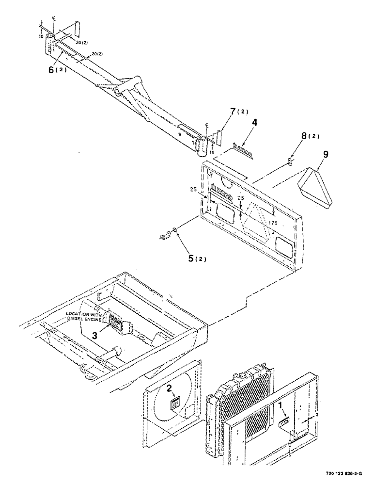
1

779348

DECAL

- notice, negative ground

1шт.

2

8178212

DECAL

- danger, acid

1шт.

3

700706208

DECAL

- danger, jump starting

1шт.

4

192848A2

DECAL

- Case IH

1шт.

5

700709866

WASHER

- washer camloc

2шт.

6

6849178

WALL

TREAD - safety (10 Foot bulk)

2шт.

7

700714346

REFLECTOR

- red

2шт.

8

700709867

DECAL

- slot camloc

2шт.

9

311858A1

DECAL

SMV EMBLEM

1шт.

Выбрано товаров: 9