Запчасти Case IH 8825HP (05-02) - STEERING COLUMN ASSEMBLY (05) - STEERING

Схема запчастей Case IH 8825HP - (05-02) - STEERING COLUMN ASSEMBLY (05) - STEERING
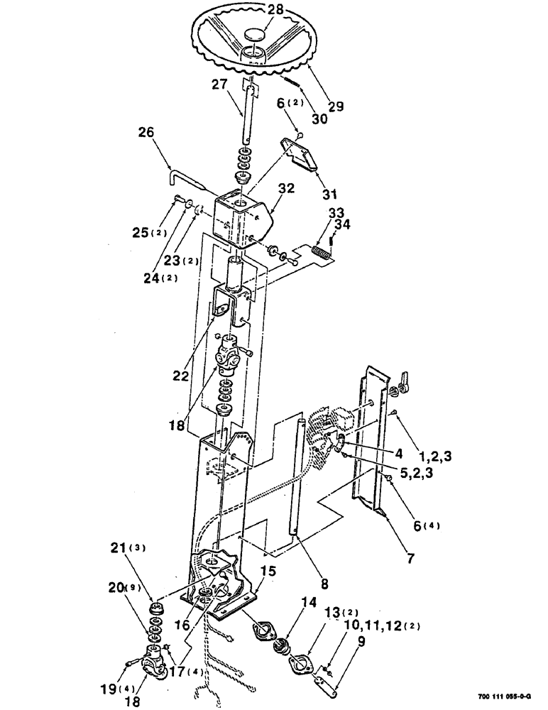
26
14
1
32
6
31
4
11
24
28
20
15
7
16
25
9
18
3
10
33
27
21
6
34
2
12
3
29
30
13
19
8
17
18
2
23
5
22
FIT
1:1
100%

Артикул

Название

Примечание

Количество

1

440-1106

SCREW,Cross Pan Hd, #10-24 x 3/8"

1шт.

2

225-14110

NUT,#10-24

2шт.

3

492-11010

LOCK WASHER,#10

WASHER, LOCK, #10

2шт.

4

700111196

MOUNTING PLATE

MOUNTING - buzzer

1шт.

5

340-1108

SCREW,Cross Pan Hd, #10-24 x 1/2"

#10-24 X 1/2 CRPHMS

1шт.

6

187-1036

SELF-TAP SCREW,Hex Washer, 1/4" - 20 x 1/2"

1/4-20 X 1/2 HWHTCTS

6шт.

7

700111066

COVER

- column

1шт.

8

700111071

SHAFT

- vertical

1шт.

9

700111072

SHAFT

- short

1шт.

10

433-512

CARRIAGE BOLT,Sq Nk, 5/16" - 18 x 3/4", Gr 5

2шт.

11

425-105

NUT,5/16"-18, G5

2шт.

12

492-11031

LOCK WASHER,5/16"

WASHER, LOCK, 5/16"

2шт.

13

469924R1

FLANGE

- bearing

2шт.

14

711762

SPHERICAL BEARING,19.05 mm ID x 47 mm OD x 30.96 mm

BEARING - spherical

1шт.

15

700111056

CHANNEL

- post

1шт.

16

248-21110

GROMMET,1" ID x 1 3/8" Groove Dia

1шт.

17

230-4215

NUT,5/16"-18, GA

5/16-18 HCLN

4шт.

18

700705553

UNIVERSAL JOINT

U-JOINT - single

2шт.

19

61-524

HEX SOC SCREW,5/16"-18 x 1 1/2"

5/16-18 X 1-1/2 HSHCS SPL

4шт.

20

52183

BUSHING

3/4 X 18 GA. NRMB

9шт.

21

700705557

BUSHING

3шт.

22

700111064

YOKE

- steering

1шт.

23

700705555

BUSHING

2шт.

24

496-11041

WASHER,13/32" x 13/16" x .065", HDN

3/8 HARDENED PLAIN WASHER

2шт.

25

413-616

BOLT,Hex, 3/8" - 16 x 1", Gr 5

2шт.

26

700111068

ROD

PIN - rod

1шт.

27

700111067

SHAFT

- primary

1шт.

28

775825

PLASTIC

LENS - blank

1шт.

29

7845050

WHEEL (STEERING)

STEERING WHEEL

1шт.

30

38-11640

LOCK PIN,1/4" x 2 1/2", Slotted

Pin, 1/4" x 2 1/2", Slotted

1шт.

31

700111069

COVER

1шт.

32

700111060

HOUSING

- cover

1шт.

33

7758139

SPRING

- compression

1шт.

34

38-31016

PIN,5/32" x 1", Coiled

1шт.

Выбрано товаров: 34