Запчасти Case IH 8825HP (08-24) - HYDRAULIC PUMP ASSEMBLY, VARIABLE, 700709792 HYDRAULIC PUMP ASSEMBLY COMPLETE (08) - HYDRAULICS

Схема запчастей Case IH 8825HP - (08-24) - HYDRAULIC PUMP ASSEMBLY, VARIABLE, 700709792 HYDRAULIC PUMP ASSEMBLY COMPLETE (08) - HYDRAULICS
7
8
5
3
4
2
9
1
10
6
FIT
1:1
100%

Артикул

Название

Примечание

Количество

700709792

HYDRAULIC PUMP

PUMP - variable, complete

1шт.

700709792R

REMAN-HYD PUMP

8825, 8825HP

1шт.

700709792C

CORE-HYDRAULIC PUMP

Return Number

1шт.

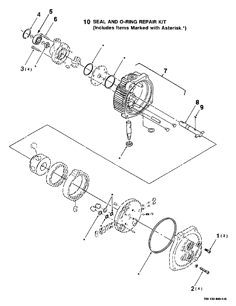
1

61-33112

HEX SOC SCREW,5/16"-18 x 3/4"

5/16-18 X 3/4 HSHCS SPECIAL

2шт.

2

461-33116

HEX SOC SCREW,5/16"-18 x 1"

5/16-18 X 1 HSHCS SPECIAL

4шт.

3

61-33120

HEX SOC SCREW,5/16"-18 x 1 1/4"

5/16-18 X 1-1/4 HSHCS SPECIAL

4шт.

4

700710690

LOCKING RING

RING - retaining

1шт.

5

700716620

BEARING

1шт.

6

7701667

HEX SOC SCREW,5/16" - 18 x 1 3/4"

5/16-18 X 1-3/4 HSHCS SPECIAL

1шт.

7

700710625

COVER

(With control shaft)

1шт.

8

700710701

SHAFT

- input

1шт.

9

700710700

PIN

- drive

1шт.

10

700710692

SEAL KIT

SEAL AND O-RING REPAIR KIT (Includes items in art marked with Asterisk)

1шт.

Выбрано товаров: 13