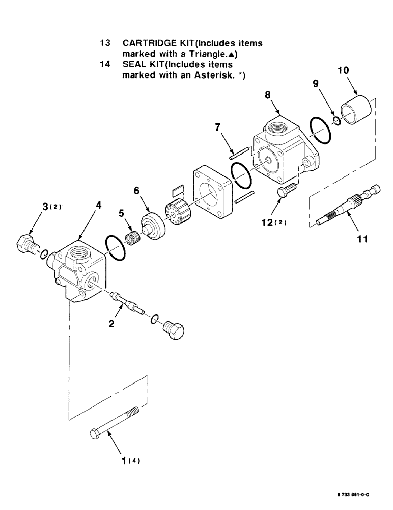
Запчасти Case IH 8825HP (08-32) - VANE PUMP ASSEMBLY, HYDROSTATIC TRANSMISSION, 8733651 VANE PUMP ASSEMBLY COMPLETE (08) - HYDRAULICS

Схема запчастей Case IH 8825HP - (08-32) - VANE PUMP ASSEMBLY, HYDROSTATIC TRANSMISSION, 8733651 VANE PUMP ASSEMBLY COMPLETE (08) - HYDRAULICS
1
4
9
11
7
5
12
3
6
13
10
14
2
8
FIT
1:1
100%

Артикул

Название

Примечание

Количество

8733651

PUMP

VANE PUMP - hydrostatic, complete

1шт.

1

326-660

BOLT,Hex, 3/8" - 16 x 3-3/4", Gr 8

4шт.

2

8730319

PISTON

- shuttle

1шт.

3

536855R1

PLUG

2шт.

4

8730293

COVER

1шт.

5

7033764

SPRING

1шт.

6

7033756

PLATE

- pressure

1шт.

7

7039167

PIN

- Dowel

1шт.

8

8730335

BODY

1шт.

9

8730285

COVER

RETAINING RING

1шт.

10

149709C1

COUPLING

(Not included with 8733651)

1шт.

11

149708C1

SHAFT

- pump

1шт.

12

413-820

BOLT,Hex, 1/2" - 13 x 1-1/4", Gr 5

2шт.

13

8730277

KIT

CARTRIDGE KIT (Includes items in art marked with a Triangle.)

1шт.

14

700705452

SEAL KIT

Includes items in art marked with an Asterisk

1шт.

Выбрано товаров: 15