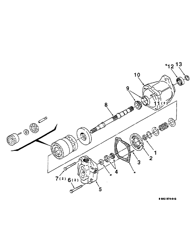
Запчасти Case IH 8825HP (08-44) - TRANSMISSION MOTOR ASSEMBLY, HYDROSTATIC, 8842874 TRANSMISSION MOTOR ASSEMBLY COMPLETE (08) - HYDRAULICS

Схема запчастей Case IH 8825HP - (08-44) - TRANSMISSION MOTOR ASSEMBLY, HYDROSTATIC, 8842874 TRANSMISSION MOTOR ASSEMBLY COMPLETE (08) - HYDRAULICS
6
10
1
5
13
9
4
8
12
2
7
3
FIT
1:1
100%

Артикул

Название

Примечание

Количество

8842874

HYDROSTATIC MOTOR

COMPLETE

1шт.

1

145582C1

KIT

SPACER - bearing, kit

1шт.

2

N8306

PLATE

- wafer

1шт.

3

A47309

PIN

ROLL PIN

1шт.

4

8730046

BEARING SET

BEARING SET

1шт.

5

8730418

VALVE

BLOCK - valve

1шт.

6

8732620

CYLINDER

STUD

2шт.

7

413-632

BOLT,Hex, 3/8" - 16 x 2", Gr 5

2шт.

8

8730459

SHAFT

1шт.

9

8730053

BEARING SET

BEARING SET

1шт.

10

8730475

HOUSING

1шт.

11

8730467

PIN

DOWEL PIN

2шт.

12

700705451

SEAL

SEAL - shaft

1шт.

13

100-21175

SNAP RING,1.75", Int, #175

Ring, Snap, 1.75", Int, #175

1шт.

14

700705529

SEAL KIT

SEAL REPAIR KIT, Includes items in art marked with an Asterisk

2шт.

Выбрано товаров: 15