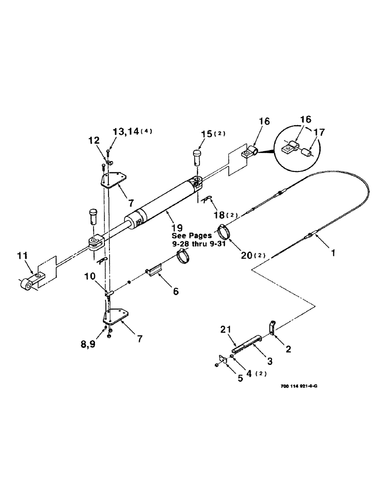
Запчасти Case IH 8830 (9-26) - HYDRAULIC ACTUATOR ASSEMBLY, GUARD ANGLE TILT KIT (09) - CHASSIS

Схема запчастей Case IH 8830 - (9-26) - HYDRAULIC ACTUATOR ASSEMBLY, GUARD ANGLE TILT KIT (09) - CHASSIS
6
17
2
15
14
11
13
18
12
8
7
19
5
21
16
16
10
7
1
20
4
9
3
FIT
1:1
100%

Артикул

Название

Примечание

Количество

1

700707684

FLEXIBLE CONTROL

CABLE - control

1шт.

2

700114933

STOP

ANGLE - mounting

1шт.

3

700114930

LEVEL GAUGE

BAR - indicator

1шт.

4

704445

NUT

#10-32 H GR2

2шт.

5

700114931

DIPSTICK

INDICATOR

1шт.

6

700114935

BRACKET

MOUNTING - cable

1шт.

7

700114932

STOP

PLATE - stop

2шт.

8

704668

NUT

1/4-28 H

1шт.

9

705012

LOCK WASHER

1/4"

1шт.

10

7845068

GASKET

BALL JOINT

1шт.

11

700114922

ARM

- front

1шт.

12

751628

CLAMP

- wiring

1шт.

13

413-532

BOLT,Hex, 5/16" - 18 x 2", Gr 5

5/16-18 X 2 C

4шт.

14

230-4215

NUT,5/16"-18, GA

5/16-18 HCLN

4шт.

15

763201

PIN

1 X 3-1/2 CLEVIS PIN

2шт.

16

700114927

MOUNTING PARTS

MOUNTING - lug (Superseded by 700117977 and 700114925)

1шт.

700117977

MOUNTING PARTS

MOUNTING - lug

1шт.

700114925

BUSHING

1шт.

17

700114925

BUSHING

1шт.

18

062455

PIN, SPLIT (COTTER)

.178 HAIRPIN COTTER

2шт.

19

700704570

HYDRAULIC CYLINDER

CYLINDER ASSEMBLY - hydraulic

1шт.

700712017

CYLINDER

ASSEMBLY - hydraulic

1шт.

20

720870

CLAMP

- hose

2шт.

21

700707691

DECAL

- indicator

1шт.

Выбрано товаров: 24